

第1页 / 共9页

第2页 / 共9页
试读已结束,还剩7页,您可下载完整版后进行离线阅读
THE END
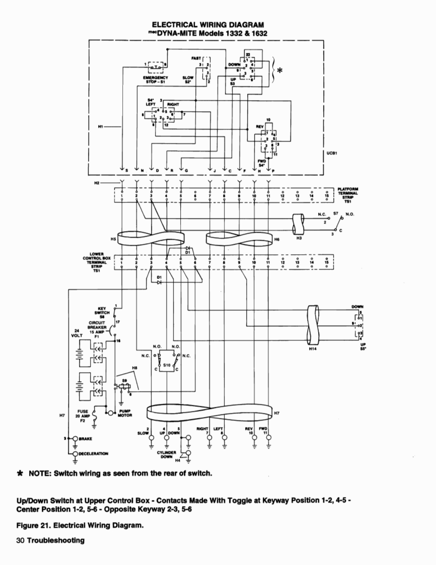
ELECTRICAL WIRING DIAGRAMm*DYNA-MITE Models 1332 1632FASTAcoCIRCUIT17[三L·电电N.O.N.OH14N.C.N.C.H7BRAKEDECELERATION*NOTE:Switch wiring as seen from the rear of switch.Up/Down Switch at Upper Control Box-Contacts Made With Toggle at Keyway Position 1-2,4-5-Center Position 1-2,5-6-Opposite Keyway 2-3,5-6Figure 21.Electrical Wiring Diagram.30 Troubleshooting
请登录后查看评论内容