安全防范高清视频监摊_安全防范高清视频监控系统技术要求Technicalrequirementsforhighdefinitionvideosurveillancesysteminsecurityuse

安全防范高清视频监摊_安全防范高清视频监控系统技术要求Technicalrequirementsforhighdefinitionvideosurveillancesysteminsecurityuse新质力文库 - 聚焦新质生产力发展的数字化知识库_行业洞察 / 理论成果 / 实践指南免费下载新质力文库
安全防范高清视频监摊_安全防范高清视频监控系统技术要求Technicalrequirementsforhighdefinitionvideosurveillancesysteminsecurityuse
此内容为付费资源,请付费后查看
2336
立即购买
您当前未登录!建议登陆后购买,可保存购买订单
付费资源

第1页 / 共10页

第2页 / 共10页

第3页 / 共10页

第4页 / 共10页

第5页 / 共10页
试读已结束,还剩5页,您可下载完整版后进行离线阅读
THE END
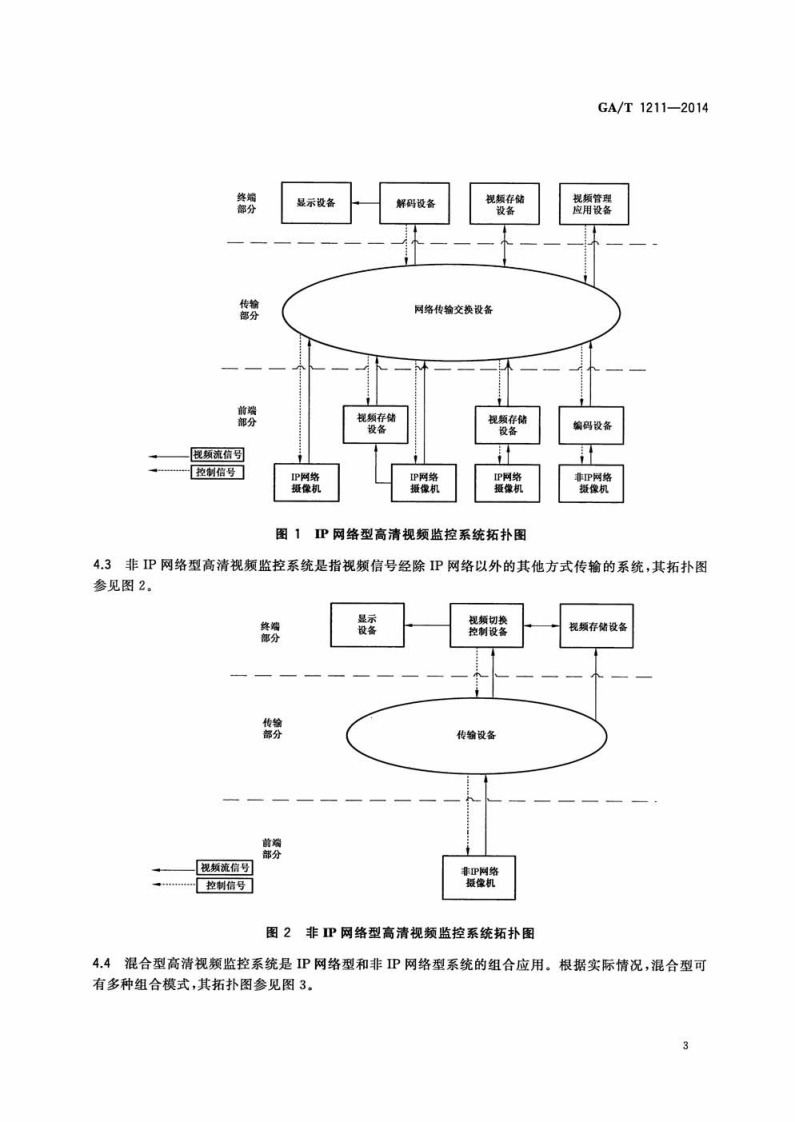
ICS13.310A91GA中华人民共和国公共安全行业标准GA/T1211-2014安全防范高清视频监控系统技术要求Technical requirements for high definition video surveillancesystem in security use2014-12-16发布2015-04-01实施中华人民共和国公安部发布
喜欢就支持一下吧
评论 抢沙发

请登录后发表评论

    请登录后查看评论内容