

第1页 / 共6页

第2页 / 共6页

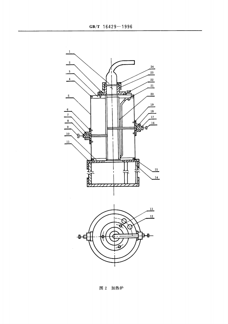
第3页 / 共6页
试读已结束,还剩3页,您可下载完整版后进行离线阅读
THE END
中华人民共和国国家标准粉尘云最低着火温度测定方法GB/T16429-1996Determination of the minimum ignitiontemperature of dust cloud1主题内容与适用范围本标准规定了粉尘云最低着火温度测定用试样、测定装置、测定步骤、着火的判别和最低着火温度的确定。本标准适用于依赖空气中的氧维持其氧化反应的可燃粉尘。本标准不适于炸药或具有爆炸性质的物质。2术语2.1粉尘云着火ignition of dust cloud由于能量传递的作用,空气中的粉尘云发生爆炸的初始现象。2.2粉尘云着火温度ignition temperature of dust cloud在加热炉中的粉尘云发生着火时,加热炉中部内壁的最低温度。3试样的制备试样应制备成均质的,并具有代表性。试样应通过标称孔径为75m的金属丝网或方孔板试验筛。如果要对比较粗的粉尘进行测定,可用孔径高达500um的试验筛,但在试验报告中要写明试验筛的标称孔径。在试样的制备过程中,引起粉尘性质的任何变化都应在试验报告中说明,如由筛分、温度或湿度引起的变化。4测定装置测定装置如图1所示,其中加热炉见图2(其组成零部件见表1)。国家技术监督局1996-06-04批准1997-04-01实施
请登录后查看评论内容