Kenwood_KPG-4_维修说明书图册_K9MN_2001

Kenwood_KPG-4_维修说明书图册_K9MN_2001新质力文库 - 聚焦新质生产力发展的数字化知识库_行业洞察 / 理论成果 / 实践指南免费下载新质力文库
Kenwood_KPG-4_维修说明书图册_K9MN_2001
此内容为付费资源,请付费后查看
1723
立即购买
您当前未登录!建议登陆后购买,可保存购买订单
付费资源

第1页 / 共1页
已完成全部阅读,共1
THE END
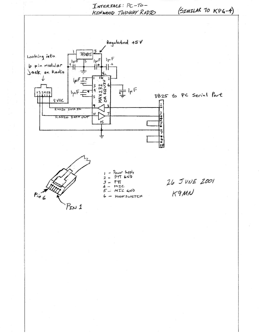
INTER FACE:P化-Tb-KENWOOD TWoWY RADR红MzK10KP6-)Reyulated t5VLooking into78053lo pin modularH片Sack a片RaeE2N113456F8Vo叱告DB25 toPC Sectal fort3RkPT6DA工NRA工64TU7239571-Power Supply2PTT 6ND-PTT26 TVNE 2001M工C5-MIC GND6-HOoKsuETCHK9MN
喜欢就支持一下吧
评论 抢沙发

请登录后发表评论

    请登录后查看评论内容