yaesu-frt-7700使用说明书手册

yaesu-frt-7700使用说明书手册-找手册网
yaesu-frt-7700使用说明书手册
此内容为付费资源,请付费后查看
1921
付费资源

第1页 / 共3页

第2页 / 共3页

第3页 / 共3页
已完成全部阅读,共3
THE END
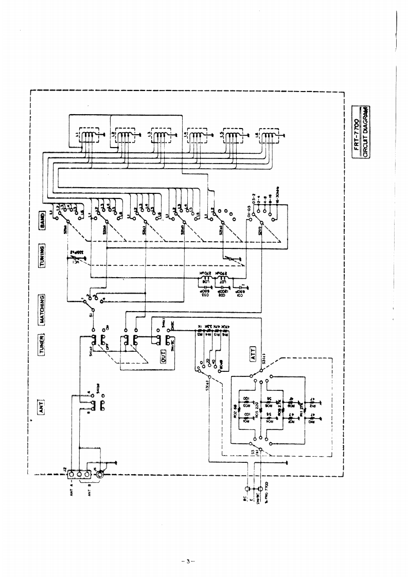
ANTENNA TUNERFRT-7700The FRT-7700 is an ultra-compact antenna tuner for the FRG-7700 receiver.Designed for operation from 150 kHz to 30 MHz,the FRT-7700 will providethe proper impedance for the receiver,thus rejecting unwanted signals.A1built-in attenuator,60 dB maximum,prevents intermodulation and cross-modulation from occurring when strong signals are being carried to yourreceiver.Also,a two-section lowpass filter aids in the rejection ofinterference from atrong signals above 2 MHz,when you are listening tobands in the 150 kHz to 500 kHz range.INSTALLATION PROCEDURE1.Connect the graycoaxial cable coming from the rear apron of theFRT-7700 to the SW/BC terminal on the rear apron of the FRG-7700.Connect the red coaxial cable to the BC terminal.Both outer cablesof the coaxial cable should be connected to terminal E.2.Your antenna should be connected to the ANT B terminal for normaloperation.This terminal accepts incoming signals from 150 kHzto 30 MHz..However,the ANT B terminal is best utilized when youare interested in receiving weak signals in the range of 150 kHz to500 kHz.The coaxial receptacle (SO-239)is connected parallel to the ANTB terminal in the FRT-7700.If your antenna feeder has a coax jack,it should be connected to the coaxial receptacle.OPERATION1.Set your FRG-7700 for normal operation on the frequency you desire.2.Preset the controls and switches as follows:TUNERCFFATT0(dB)BANDDesired bandMATCHING33.Tune the FRG-7700 to your desired signal.4.Push the TUNER switch on,and adjust the TUNING control formaximum deflection on the S-meter.5.Change the position of the MATCHING selector to the point wherethe S-meter reaches maximum deflection.
喜欢就支持一下吧
评论 抢沙发

请登录后发表评论

    请登录后查看评论内容