KENWOOD–TM-241-维修用说明书手册

KENWOOD--TM-241-维修用说明书手册-找手册网
KENWOOD–TM-241-维修用说明书手册
此内容为付费资源,请付费后查看
1921
付费资源

第1页 / 共71页

第2页 / 共71页

第3页 / 共71页

第4页 / 共71页

第5页 / 共71页

第6页 / 共71页

第7页 / 共71页

第8页 / 共71页

第9页 / 共71页

第10页 / 共71页
试读已结束,还剩61页,您可下载完整版后进行离线阅读
THE END
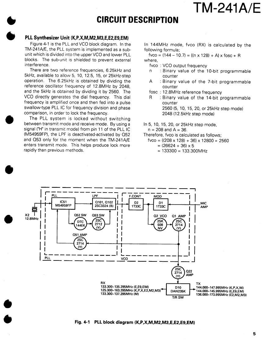
144MHz FM TRANSCEIVERKENWOODTM-241A/ESERVICE MANUALREVISED1994-5 PRINTED IN JAPANB51-8059-10(N)1177This service manual is the same as the ser-Knob (VFO,MR,MHz)Microphone*vice manual (B51-8059-00)for TM-241A/EK27-3035-14)×3(T91-)Panel ass'y"(TM-241A K,P,M,M2 TM-241E:E,E2)desti-(A62-)nations except that this manual contains newitems for (TM-241A:M3.X,K2,P2 TM-241E:Knob (VOL,SQL)E9,EM)destinations.(K29-3157-04)x2Use it together with the previous serviceKnob (LOW)m8nual(B51-8059-001(K27.3067-04)Knob (POWER)(K27-3066-04)KENWOOD4y6.970F28CNNBSKnob (SHIFT)Knob (REV)(K27-3074-14)K27-3072-14Knob (MAIN)Knob (CALL)Knob (F)Knob (TONE)Knob (DR/DT)Mic receptacle(K29-3156-04)(K27-3068-14)(K27-3069-14)(K27-3071-14)(K27-3075-14)(E06-0860-05)Photo is TM-241A.Refer to parts list on page 15.CONTENTSCIRCUIT DESCRIPTION ......2TX-RX UNIT (X57-369X-XX)........................4.4DESCRIPTION OF COMPONENTS11SCHEMATIC DIAGRAM.............................47PARTSBLOCK DIAGRAM........51EXPLODED VIEW.......30LEVELDIAGRAM........54PACKING31DRU-1 (DIGITAL RECORDING UNIT).55ADJUSTMENT...............32DTU-2 (DTMF UNIT)......................63TERMINAL FUNCTION..........37MC-44DM/MC-44DME (MULTI FUNCTIONCIRCUIT DIAGRAMS PC BOARD VIEWSMICROPHONE WITH AUTOPATCH).....................65LCD ASS'Y(B38-0330-05)38MC-44(MULTI FUNCTION MICROPHONE)..........66PLL(X58-3470-00).39MC-44E (MULTI FUNCTION MICROPHONE)........67PLL(X58-3500-11).41TSU-6 (CTCSS UNIT).........................68APC(X59-3130-00)43SPECIFICATIONS....................BACK COVERMIC AMP(X59-3610-00).43
喜欢就支持一下吧
评论 抢沙发

请登录后发表评论

    请登录后查看评论内容