

第1页 / 共166页

第2页 / 共166页

第3页 / 共166页

第4页 / 共166页

第5页 / 共166页

第6页 / 共166页

第7页 / 共166页

第8页 / 共166页

第9页 / 共166页

第10页 / 共166页
试读已结束,还剩156页,您可下载完整版后进行离线阅读
THE END
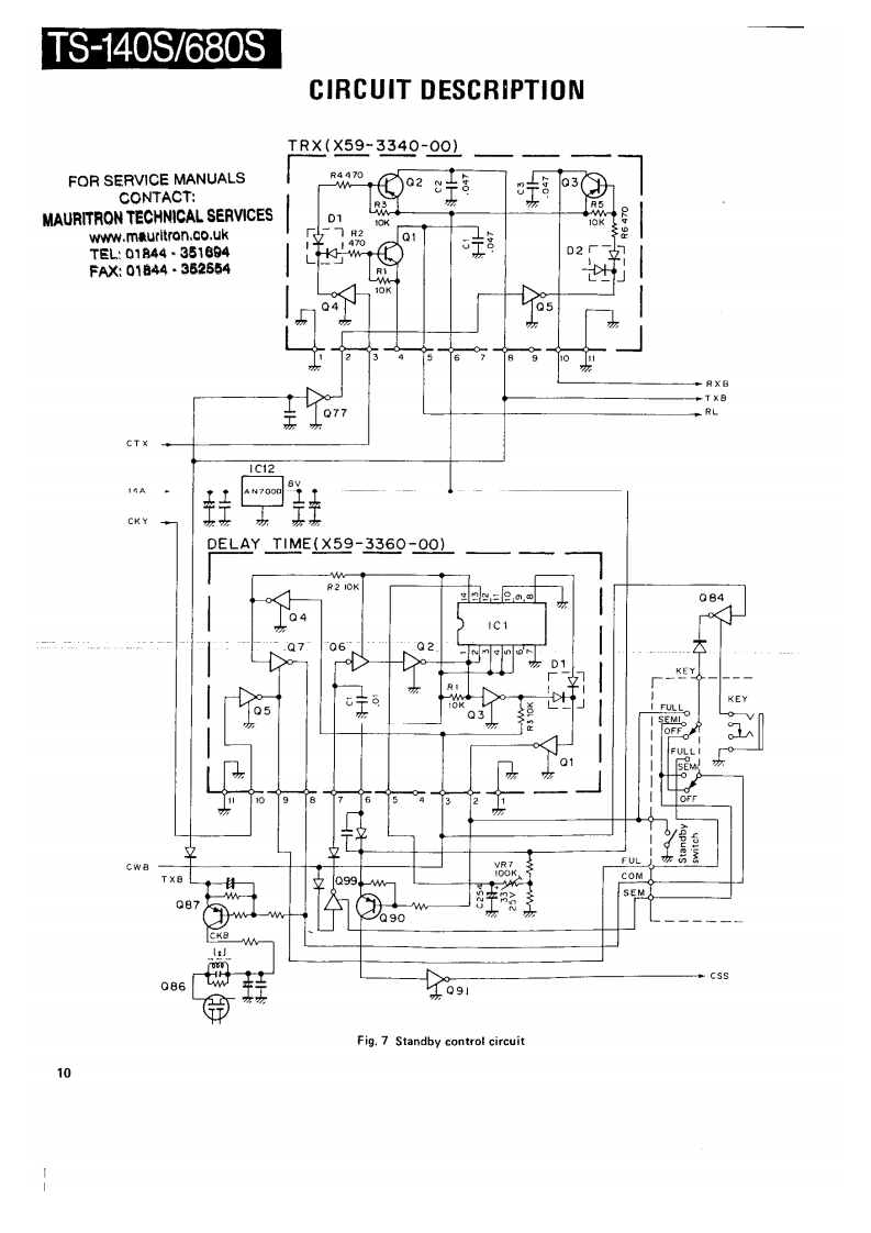
HF TRANSCEIVER/MULTI BANDERTS-140S/680SSERVICE MANUAL1987-11 PRINTED IN JAPANB51-3337-00(0)1573Phone jockKnoKnobKaobCaseiUpper!KnobPanet ass'y'{E11-041305引{K29-3090-041(K29-3089-049(K29.3084-04)(401-1032.02){K290741341×2IA20-)长nobnobPush knobXnobFront arassMain knobKnobK29-309104)K29-0758-1411K29-3080-14}4日10-)1K210778-02】[K29-30B1041(K230710041x2(K29-307804)¥¥2阳60Knobn0为Kn0边KnobKnob4E07.0852.15)(K29-3092-041gK29-3088041[K29-3085-04)(K29309304】x2(J02.0442-04)【K29-3079-041×4KnabKnobKnobKnobKnobKnob(K29-3094-041×61K29-3087-0451K293086041{×293083.041[K29-3082.041fK29-3094-04}x4"Refer to parts list on page 42.CONTENTSCIRCUIT DESCRIPTION20 ELAY TIME X59-33G0.00)...,...,101,110SEMICONDUCTOR DATA.,..,..·.,..,,.,·.22SGNA1U114¥3/3100-001:TS-80S......,102DESCRIPTION OF COMPONENTS..,,...·..··.32TERMINAL FUNCTIONS.......·106PARTS LIST,,,··:41PC BOARD VIEWS/CIRCUIT DIAGRAMDISASSEMBLY,.,,...,..·..,,,.········.75SIGNAL UNIT (X57.3200-XX):TS-140S··..111PACKING.....,···,,·79SWITCH UNIT (X11-3030-XX).115LEVEL DIAGRAM,,,,......,,,,.··80FINAL UNI (X3100-XX]116ADJUSTMENT·.··,:81FANX.337001··,,········,··116BLOCK DIAGRAM (TS-680S)91FILTER UNIT (51.3040-XX]117BLOCK DIAGRAM (TS-140S)93DISPLAY UNIT 1X54-3050-XX]119PC BOARD VIEWS/CIRCUIT DIAGRAMSCHEMATIC DIAGRAM (TS-140S)121CONTROL UNIT (X53-3100-XX)...124,。95SCHEMATIC DIAGRAM (TS-680S]SIDE TONE{X59-1060-00)101,110YK.455C-1 CW FILTER)...·..,,.·,.·.·..127V0X(X59.1080-00)....,.110TU-8 (TONE UNIT]...128FM MIC AMP.(X59-3000-02)101,1101F.10C (INTERFACE KIT)132TR×(X593340-001...,,101,110SPECIFICATIONS134NB2(X59-3350-00101,110FOR SERVICE MANUALSCONTACTMAURITRON TECHNICAL SERVICESwww.mauritron.co.ukTEL:01844-351694FAX:01844-352554
请登录后查看评论内容