

第1页 / 共35页

第2页 / 共35页

第3页 / 共35页

第4页 / 共35页

第5页 / 共35页

第6页 / 共35页

第7页 / 共35页

第8页 / 共35页

第9页 / 共35页

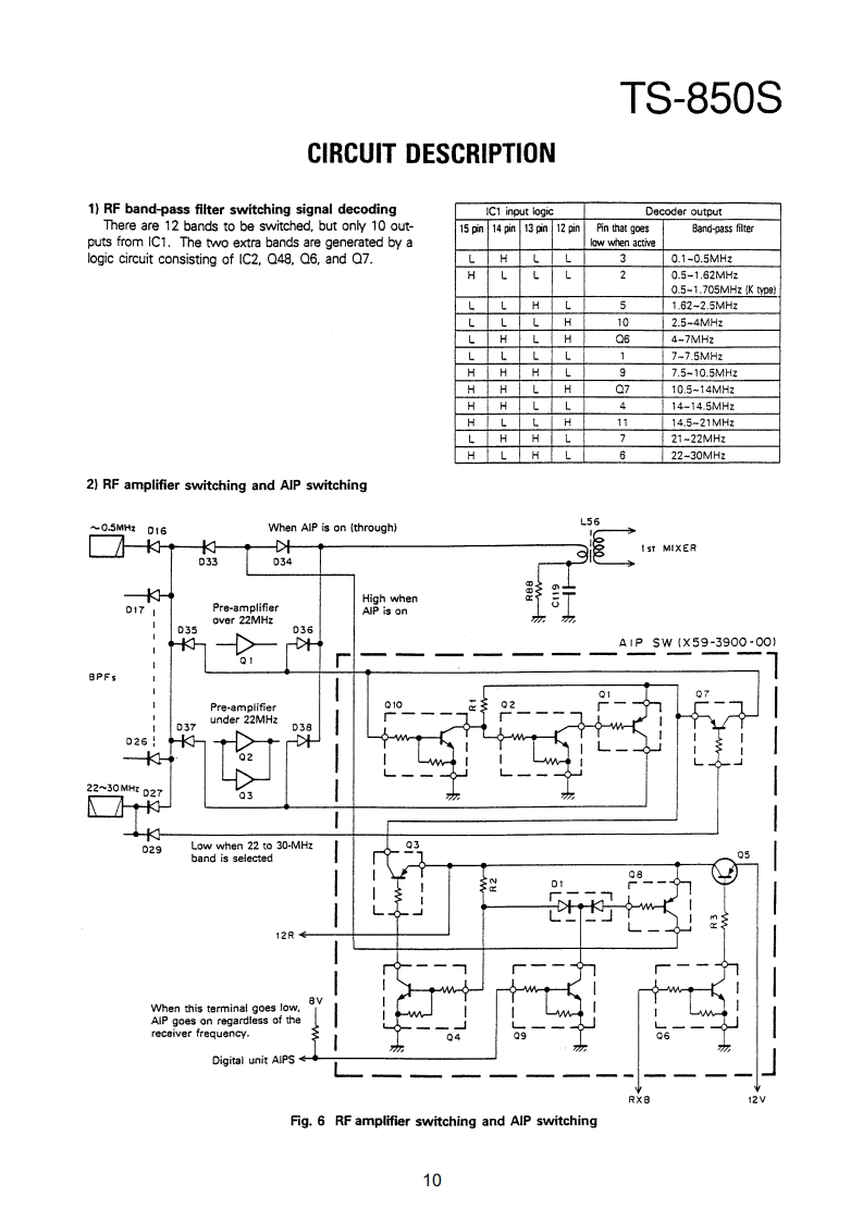
第10页 / 共35页
试读已结束,还剩25页,您可下载完整版后进行离线阅读
THE END
HF TRANSCEIVERTS-850STS-850SSERVICE MANUALKENWOODKnobKnob4K29-4512-041x4K23-0794-041KnobKnobMetallic cabinet (Top)KnobKnob[K29-4513-041K29-4515-041×3[A01-2014-01)K29-3109-141×2[K29-4518-04)×5KnobCoverFront glassKnob(K29-4636-04)(F07-1327-041(B10-1159-03(K29-4610-04×21420000ae…KnobK29-4516-04)×3KnobKnobKnob(K29-4513-04×4K21-0790-02)(K29-4609-04Cylindrical receptacleKnob4E06-0858-15}K29-3109-14)×3Phone jackFoot{E11-0437-05)J02-0423-041x2KnobKnobK294518-04)×3{K29.4610-041×3KnobKnobKnobKnobXnab[K29.4623-03)(K29-4624-03)K29-4625-03(K29-4633-03(K29-4631-03){K29-4632-03】KnobKnobKnobKnobKnobKnob(K29.4611-03(K29-4612-031{K29-4613-03(K29-4634-03(K29-3200-03{K29-3200-031KnobKnobKnobKnobKnobKnobK29-4614-03)(K29-4615-031K29.4616-03)(K29-4635-03)K29-3200-031{K29-3200-03】KnobKnobKnobKnobKnobKnob(K294617-03)(K29.4618-031{K29-4619-03)(K29-4627-03)(K29.3200-031{K29-3200-03KnobKnobKnobKnobKnobKnob(K29-4621-03)(K29-4620-03{K29-4622-03)1K29-4628-03){K29-4629-03(K29-4630-03,KnobKnobKnobKnobKnobKnob(K29-4505-04)(K29-4506-04{K29-4507-04)(K29-4626-03)K29-4508-041[K29-4509-04)
请登录后查看评论内容