

第1页 / 共113页

第2页 / 共113页

第3页 / 共113页

第4页 / 共113页

第5页 / 共113页

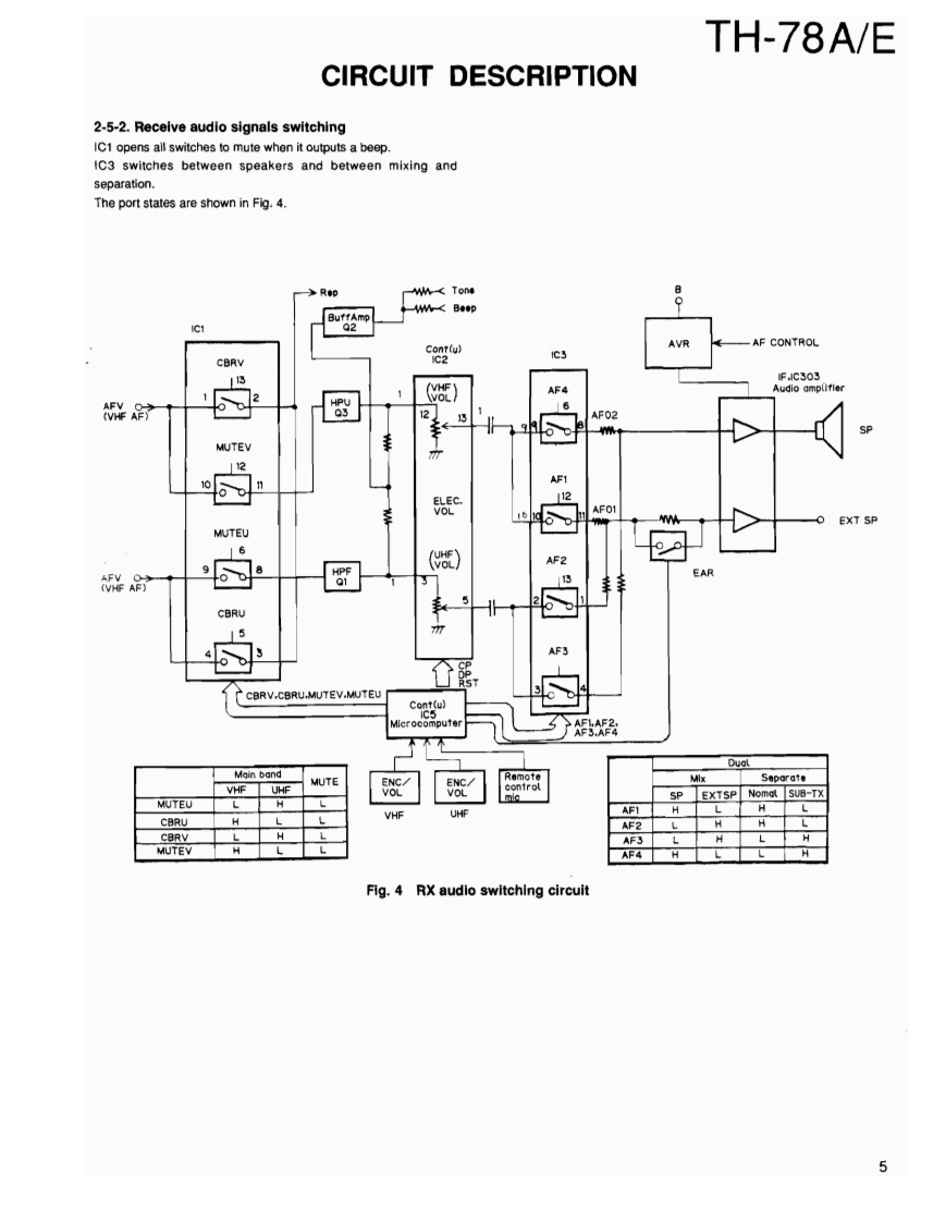
第6页 / 共113页

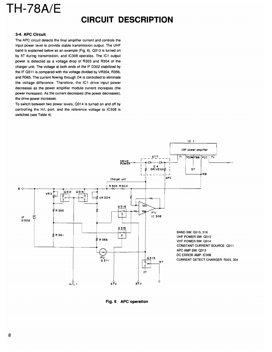
第7页 / 共113页

第8页 / 共113页

第9页 / 共113页

第10页 / 共113页
试读已结束,还剩103页,您可下载完整版后进行离线阅读
THE END
144/430(440)MHz FM DUAL BANDERKENWOODTH-78A/ESERVICE MANUAL1992-2 PRINTED IN JAPANB51-8167-00(B)1197CONTENTS-AntennaCIRCUIT DESCRIPTION....T90-0445-05DESCRIPTION OF COMPONENTS.15SEMICONDUCTOR DATA.......20PARTS LST33DISASSEMBLY ..54PACKING.56ADJUSTMENT.....4.57PC BOARD VIEWS/CIRCUIT DIAGRAMSTX-RX UNIT-RF (X57-409X-XX)B/4 BOARD VIEWS ........65TX-RX UNIT-RF CIRCUIT DIAGRAMS.69KnobTX-RX UNIT-IF (X57-409X-XX)A/4 BOARD VIEWS ........73{K29478304)TX-RX UNIT.IF CIRCUIT DIAGRAMS......77CONTROL UNIT(X53-342X-XX)A/5 BOARD VIEWS ........81CONTROL UNIT CIRCUIT DIAGRAMS.85-Knob(K29-4773-04)TX-RX UNIT (X57-409X-XX)C/4,D/4 BOARD VIEWS ........89SUB UNIT (VHF VCO)(X58-3890-00)BOARD VIEWS .....90KnobSUB UNIT (UHF VCO)(X58-3890-00)BOARD VIEWS .......90(K294782-03)SUB UNIT (UHF PA)(X58-3900-00)A/2 BOARD VIEWS ....91Plastic Cabinet Ass'ySUB UNIT (VHF PA)(X58-3900-00)B/2 BOARD VIEWS ....92(A02-1649-13):TH-78ACONTROL UNIT (X53-342X-XX)B/5 BOARD VIEWS .....93(A02.1650-13):TH-78ECONTROL UNIT(X53-342X-XX)C/5 BOARD VIEWS.........95CONTROL UNIT (X53-342X-XX)D/5 BOARD VIEWS ......96CONTROL UNIT (X53-342X-XX)E/5 BOARD VIEWS96BLOCK DIAGRAM..97Knob-LEVEL DIAGRAM.....99(K294781-12)TERMINAL FUNCTIONS4101BT-8(BATTERY CASE).....103Dressing PlateHMC-2 (HEAD SET WITH VOX PTT).(B03-0572-04).104HMC-2(HEAD SET WITH VOX PTT).105ME-1(EXTENSION MEMORY UNIT).........+106PG-2W (DC CORD)/PG-3F(PLUG WITH CORD)..107SC-35/36(SOFT CASE)/MB-6(MOBILE BRACKET)/WR-2(WATERPROOF CASE).......108SMC-31/32(SPEAKER MICROPHONE)..109SMC-33 (SPEAKER MICROPHONE)/HS-9 (EARPHONE)....110TSU-7 CTSS UNIT)..111TSU-7 (CTCSS UNIT)....112SPECIFICATIONS..........................BACK COVERPhoto is TH-78A
请登录后查看评论内容