

第1页 / 共23页

第2页 / 共23页

第3页 / 共23页

第4页 / 共23页

第5页 / 共23页

第6页 / 共23页

第7页 / 共23页

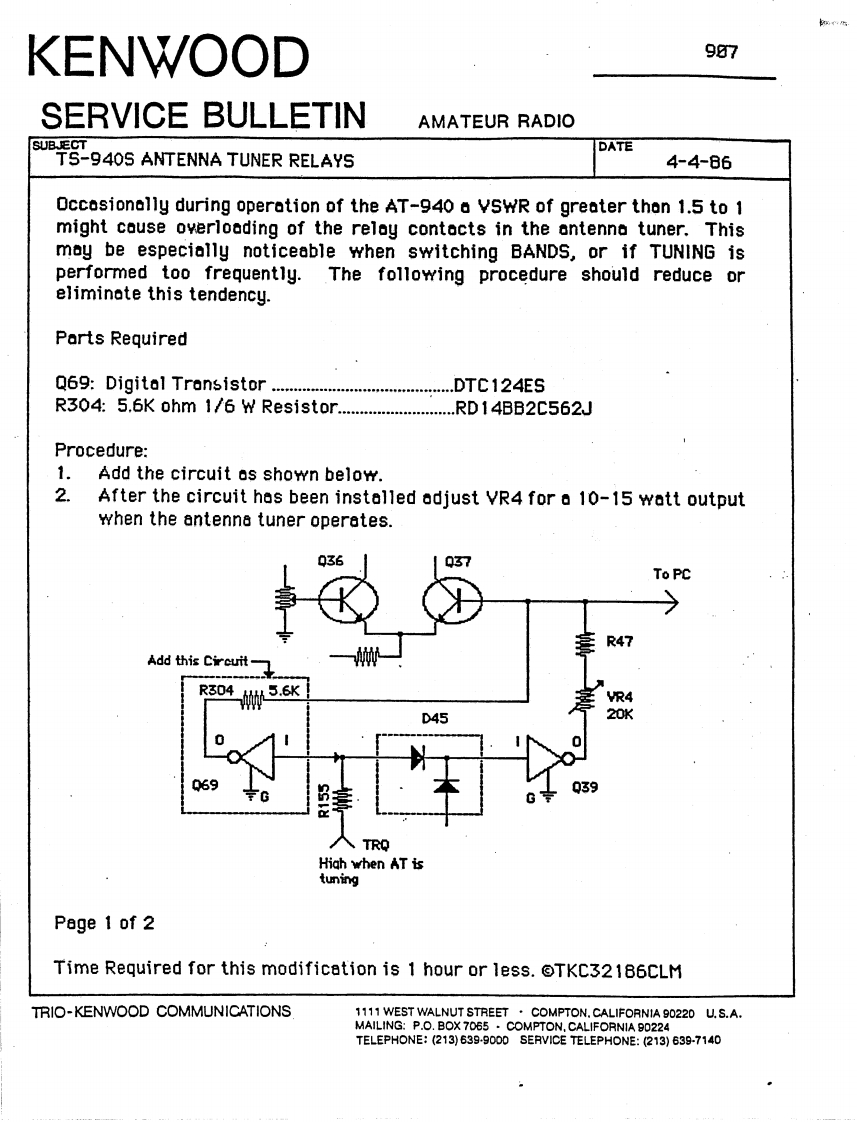
第8页 / 共23页

第9页 / 共23页

第10页 / 共23页
试读已结束,还剩13页,您可下载完整版后进行离线阅读
THE END
KENWOOD896.SERVICE BULLETINAMATEUR RADIOSUBJECTDATETS-940S LCD CLOCK DISPLAY ERRATIC OPERATION9-14-85We have reoeived a fow roporte oonoerning orratio operation of the LCDclock display when the Main Dial is rotated,or the VBT or SLOPE TUNEcontrols are.operated.This appears as if you had preseed the SET,SCROLL,OR GRAPH switches.This erratic operation may be caused by improper timing of the inputpulses applied to the auxiliary display microprocessor,IC 1.1.This symptom is easily correated by replacing Ic 2MBM2764-30T1with MBM2764-30T2,on Digital UnitA (X54-1830-00).Early modelsof the improved Ic will carry the old nomenclature but will bedistinguished by a white dot on the top of the chip.2.After the Ic has been changed reset the main microprocessor bypressing and holding the [A-B]key,and then turning the powerswitch OFF and then back ON.Then release the [A=B]key.3.After this change is made the subdisplay vill not immediately trackthe main display.A slight delay has been introduced in the new Icto.prevent any timing errors.It may take approximately 0.5 secondsfor the LCD to traok the main display.4.Please return the old IC 2 to the Service Department along with thethe WSR for credit.Perform this procedure only if the symptom occurs,as a repair.Thischange is not required othervise.Time required for this modifioation is 1 hour or less.TKC985CLMTRIO-KENWOOD COMMUNICATIONS1111 WEST WALNUT STREET COMPTON.CALIFORNIA 90220 U.S.A.MAILING:P.O.BOX 7065.COMPTON.CALIFORNIA 90224TELEPHONE:(213)639-9000 SERVICE TELEPHONE:(213)639-7140
请登录后查看评论内容