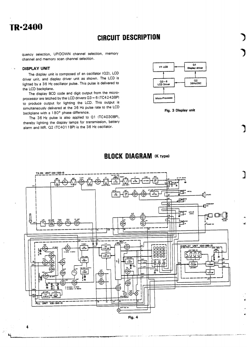
tr2400_维修手册电器原理图找手册网31天前发布关注私信1.91MB24页035tr2400_维修手册电器原理图此内容为付费资源,请付费后查看¥19¥21黄金会员免费钻石会员免费登录购买付费资源 第1页 / 共24页 第2页 / 共24页 第3页 / 共24页 第4页 / 共24页 第5页 / 共24页 第6页 / 共24页 第7页 / 共24页 第8页 / 共24页 第9页 / 共24页 第10页 / 共24页 试读已结束,还剩14页,您可下载完整版后进行离线阅读 THE END建武 文本预览 $1o严KENWOODSERVICE MANUAL0Model TR-2400CO2m FM SYNTHESIZEDHAND-HELD TRANSCEIVER 查看更多 收起部分 喜欢就支持一下吧收藏
请登录后查看评论内容