

第1页 / 共51页

第2页 / 共51页

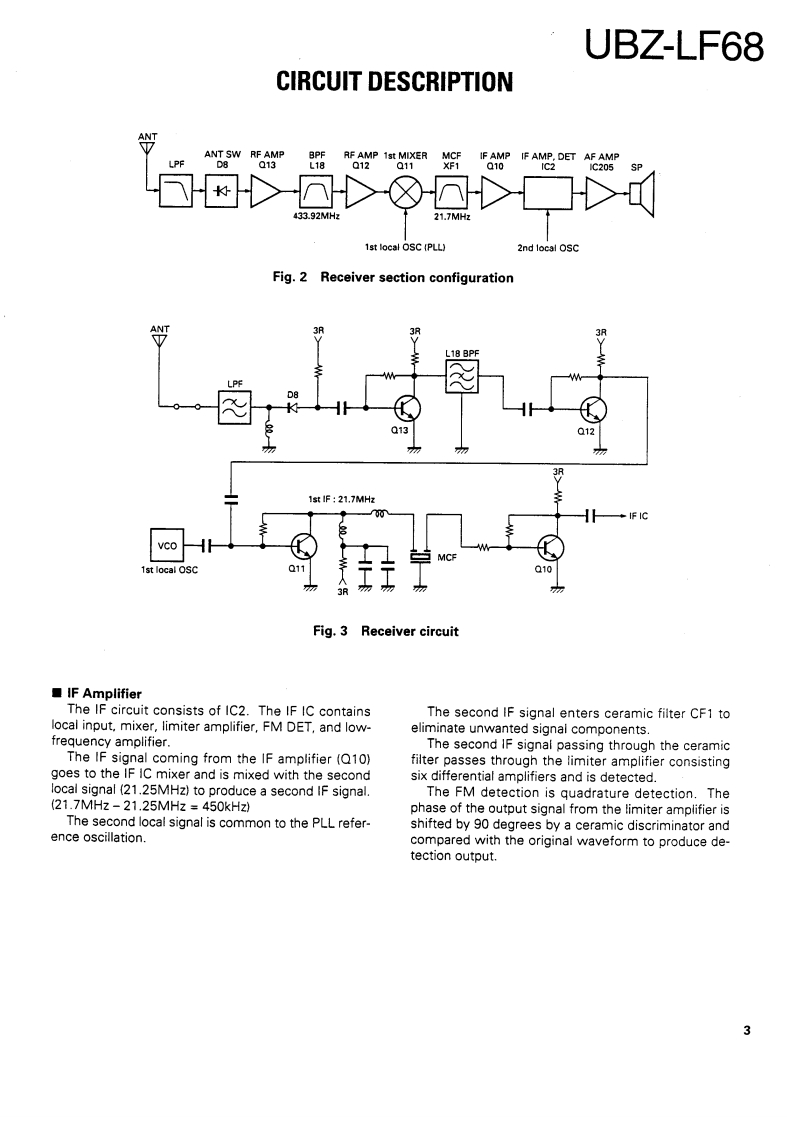
第3页 / 共51页

第4页 / 共51页

第5页 / 共51页

第6页 / 共51页

第7页 / 共51页

第8页 / 共51页

第9页 / 共51页

第10页 / 共51页
试读已结束,还剩41页,您可下载完整版后进行离线阅读
THE END
FM TRANSCEIVERUBZ-LF68KENWOODSERVICE MANUALR1996-10 PRINTED IN JAPANB51-8350-00(N)624CONTENTSCIRCUIT DESCRIPTION..................2AntennaKnob (VOL)(T90-0631-05)K29-5016-03)SEMICONDUCTOR DATA................9DESCRIPTION OF COMPONENTS........11Packing(G53-0784-12】PARTS LIST.12EXPLODED VIEW…16PACKING…17ADJUSTMENT…18TERMINAL FUNCTION…21PC BOARD VIEWS.........................22Button knob (PTT)SCHEMATIC DIAGRAM...................31(K29-5015-03BLOCK DIAGRAM…35LEVEL DIAGRAM…37EMC-3(CLIP MIC W/EARPHONE).........38Keytop(K29-5014-02)HMC-3(HEADSET)…38SMC-33 (REMOTE CONTROL SPEAKER MICROPHONE).....40SMC-34 (REMOTE CONTROL SPEAKER MICROPHONE).....40UBC-2 (BATTERY CHARGER).......43Cabinet assy (Front)UPB-1(BATTERY PACK)…45(A02-2033-03):B(A02-2040-03):YUSC-3(SOFT CASE)…45SPECIFICATIONS........BACK COVER
请登录后查看评论内容