

第1页 / 共122页

第2页 / 共122页

第3页 / 共122页

第4页 / 共122页

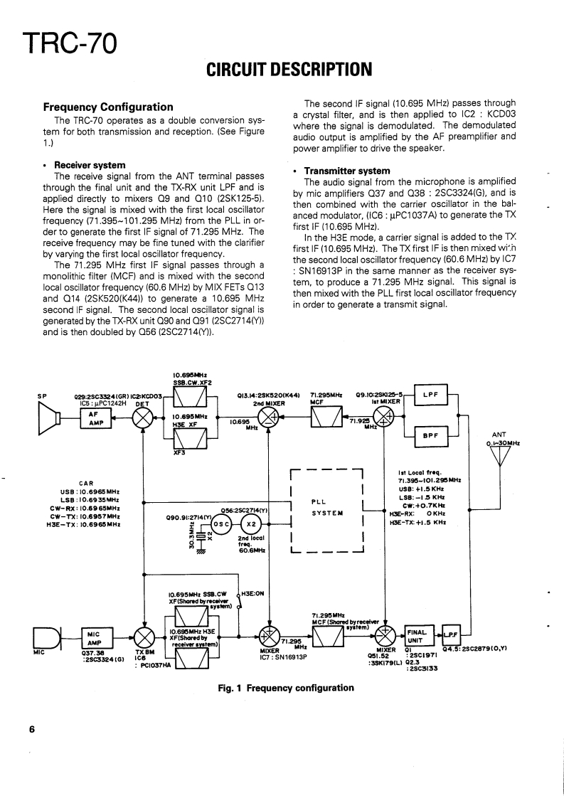
第5页 / 共122页

第6页 / 共122页

第7页 / 共122页

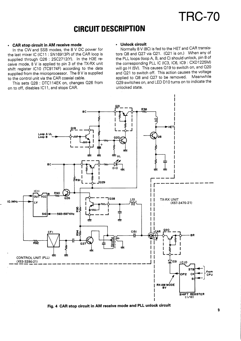
第8页 / 共122页

第9页 / 共122页

第10页 / 共122页
试读已结束,还剩112页,您可下载完整版后进行离线阅读
THE END
SSB RADIOTELEPHONEKENWOODTRC-70SERVICE MANUAL1989-11 PRINTED IN JAPANB51-8038-000)588KnobKnob (POWER SW)Metallic cabinetKnobFront glassPanel ass'y (DRESSING PANEL)(K29-4540-14)(K29-4519-04)】(A01-1087-02){K29-4540-14)(B10-1129-14)(A20-7061-04)Knob(K29-4540-14)×4MicrophonePhone jackLabelKnob (MAIN DIAL)FootKnob(T91-0388-05)E11-0440-05){B42-3379-04(K29-4538-03)(J02-0323-05)×4(K29-4539-04)×2CONTENTSMAINTENANCE AND ADJUSTMENT...............2C0 NTROL UNIT(X53-3280-21)..85INSTALLATION INSTRUCTIONS.........5TX-RX UNIT(X57-3470-21).93CIRCUIT DESCRIPTION…6FINAL UNIT(X45-3370-21).101DESCRIPTION OF COMPONENTS .........27SCHEMATIC DIAGRAM.…105PARTS LIST33MAT-100 (AUTOMATIC ANTENNA TUNER)EXPLODED VIEW.........63Circuit Description…108PACKING65Bl0 ck Diagram.....…122ADJUSTMENT66Description of Components.........123LEVEL DIAGRAM.....76Parts List…124BLOCK DIAGRAM..7Exploded View…129TERMINAL FUNCTION.....…81PC Board ViewCIRCUIT DIAGRAMS/PC BOARD VIEWSLED UNIT (W02-0844-08)130LCD ASS'Y(B38-0324-05)…83ANT MODULE UNIT(W02-0883-08)..........131VC0X58-3720-10)…83SchematicSDET0NE(X59-1060-00).84Installation Instructions.136DC-DC(X59-1100-00)…84Manual Tuning…140FAN TEMP PROTECTION (X59-3370-00).....84Specifications....141VC0(X59-3440-00)..84SPECIFICATIONS....BACK COVER
请登录后查看评论内容