Kenwood_TL-933_维修说明书图册

Kenwood_TL-933_维修说明书图册-找手册网
Kenwood_TL-933_维修说明书图册
此内容为付费资源,请付费后查看
1921
付费资源

第1页 / 共16页

第2页 / 共16页

第3页 / 共16页

第4页 / 共16页

第5页 / 共16页

第6页 / 共16页

第7页 / 共16页

第8页 / 共16页

第9页 / 共16页

第10页 / 共16页
试读已结束,还剩6页,您可下载完整版后进行离线阅读
THE END
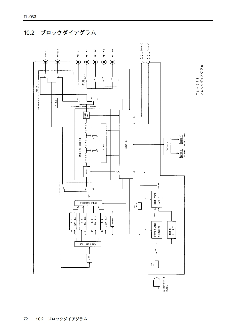
TL-93310.2ブ口y夕ダ不了与厶i nany1631302建剧43w1E60的304时A Z I91117ds430d27210.2口以夕ダ1了分与ㄙ
喜欢就支持一下吧
评论 抢沙发

请登录后发表评论

    请登录后查看评论内容