

第1页 / 共63页

第2页 / 共63页

第3页 / 共63页

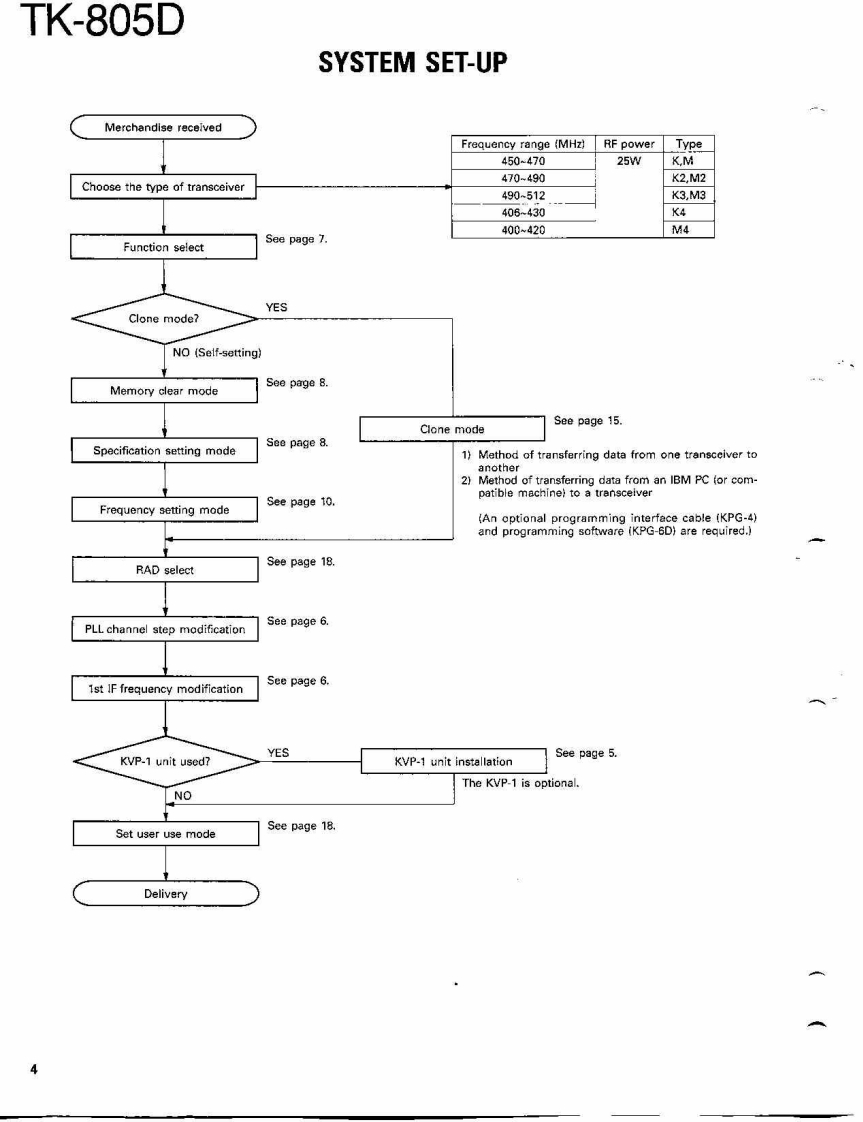
第4页 / 共63页

第5页 / 共63页

第6页 / 共63页

第7页 / 共63页

第8页 / 共63页

第9页 / 共63页

第10页 / 共63页
试读已结束,还剩53页,您可下载完整版后进行离线阅读
THE END
COMPACT SYNTHESIZED UHF FM TWO-WAY RADIOTK-805DKENWOODSERVICE MANUAL1991-3 PRINTED IN JAPANB51-8108-00(O)1139Microphone(T91-0362-151:K,K2.K3,K4(T91-0509-05):M,M2.M3,M4KENWOODKnob (POWER)Knob (VOL)KnobKnob (CH)Panel ass'y(K27-3052-04)K29-4534-04{K29-4535-04)×5K29-4533-04j(A62-0093-03)Photo is K.K2,K3,K4 type.CONTENTSGENERAL.42PACKING…47SYSTEM SET-UP,4ADJUSTMENT............48INSTALLATION5TERMINAL FUNCTIONS52MODIFICATION..6CIRCUIT DIAGRAMS/PC BOARD VIEWSREALGNMENT....7PLL(X58-3700-XX)4-53DISASSEMBLY FOR REPAIR..........21APC(X59-3130-00.55LEVEL DIAGRAMHPF(X59-3740-11】…55BLOCK DIAGRAM…23TX-RX UNIT (X57-3850-XX).....56CIRCUIT DESCRIPTON..25SCHEMATC DIAGRAM....59SEMICONDUCTOR DATA.......…30KVP-1 (DIGITAL RECORDING UNIT)463DESCRIPTION OF COMPONENTS32KPG-4 (PROGRAMMING INTERFACE).....69PARTS UIST4…33SPECIFICATIONS.BACK COVEREXPLODED VIEW.....46
请登录后查看评论内容