

第1页 / 共53页

第2页 / 共53页

第3页 / 共53页

第4页 / 共53页

第5页 / 共53页

第6页 / 共53页

第7页 / 共53页

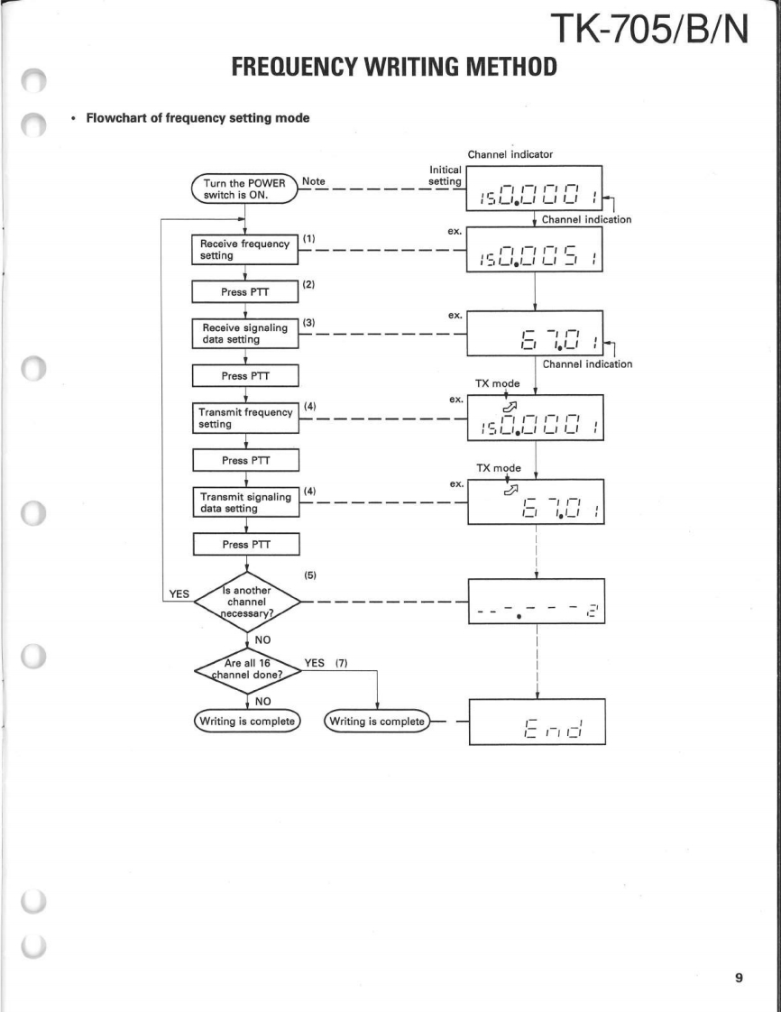
第8页 / 共53页

第9页 / 共53页

第10页 / 共53页
试读已结束,还剩43页,您可下载完整版后进行离线阅读
THE END
VHF FM TRANSCEIVERKENWOODTK-705/B/NSERVICE MANUALREVISED1992-8 PRINTED IN JAPANB51-8020-10(0)1481Microphone(T91-0362-15):K,M,M2.P,C1,C2T.X,BE,NM,NM2,NX(T91-0511-05):M3,M4KENWOODKENWOODch 16Dressing plate(B03-0557-041Knob (POWER)Knob (VOL)KnobKnob (CH)(K27-3052-04)(K29-4534-04(K29-4535-04)(K29-4533-04】Photo is K type.CONTENTSGENERAL2PACKING39SYSTEM SET-UPADJUSTMENT....40TERMINAL FUNCTIONS...............…44CONVERSION...6CIRCUIT DIAGRAMS/PC BOARD VIEWSFREQUENCY WRITING METHOD7PLL(X58-371X-XX)…45DISASSEMBLY FOR REPAIR .......…11APC(X59-3130-00…47LEVEL DIAGRAM..12HPF(X59-3740-101..47BLOCK DIAGRAM.13TX-RX UNIT (X57-345X-XX)........48CIRCUIT DESCRIPTION........15SCHEMATIC DIAGRAM........5.1DESCRIPTION OF COMPONENTS......22KQT-8(QT/CTCSS)…54PARTS LIST…23SPECIFICATIONS...BACK COVEREXPL0 DED VIEW…38
请登录后查看评论内容