

第1页 / 共34页

第2页 / 共34页

第3页 / 共34页

第4页 / 共34页

第5页 / 共34页

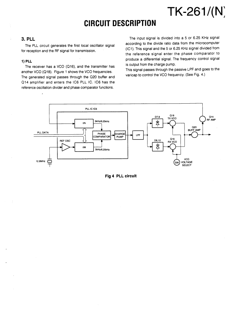
第6页 / 共34页

第7页 / 共34页

第8页 / 共34页

第9页 / 共34页

第10页 / 共34页
试读已结束,还剩24页,您可下载完整版后进行离线阅读
THE END
VHF FM TRANSCEIVERKENWOODTK-261/(N)SERVICE MANUAL1997-10 PRINTED IN JAPANB51-8413-00(B)478Helical antennaT90-0450-05】Knob(CHANNEL)(K29-5166-03)CONTENTSGENERAL…2REALIGNMENT..3KnobDISASSEMBLY FOR REPAIR........5(VOLUME)(K29-5168-13)CIRCUIT DESCRIPTION7SEMICONDUCTOR DATA......13DESCRIPTION OF COMPONENTS..15Key top(PTT)-PARTS LIST17(K29-50e9-12)EXPL0 DED VIEW…23PACKING.24ADJUSTMENT25PC BORD VIEWSTX-RX UNIT (X57-5522-XX)...31Cabinet assySCHEMATIC DIAGRAM37A02-2166-13)BLOCK DIAGRAM..41LEVEL DIAGRAM.43KNB-14/15A (Ni-Cd BATTERY).44CHARGER/AC ADAPTER...45SPECIFICATIONS...BACK COVERCAUTION:When using an external power connector,please use with maximum final moduleprotection of 9V.
请登录后查看评论内容