

第1页 / 共60页

第2页 / 共60页

第3页 / 共60页

第4页 / 共60页

第5页 / 共60页

第6页 / 共60页

第7页 / 共60页

第8页 / 共60页

第9页 / 共60页

第10页 / 共60页
试读已结束,还剩50页,您可下载完整版后进行离线阅读
THE END
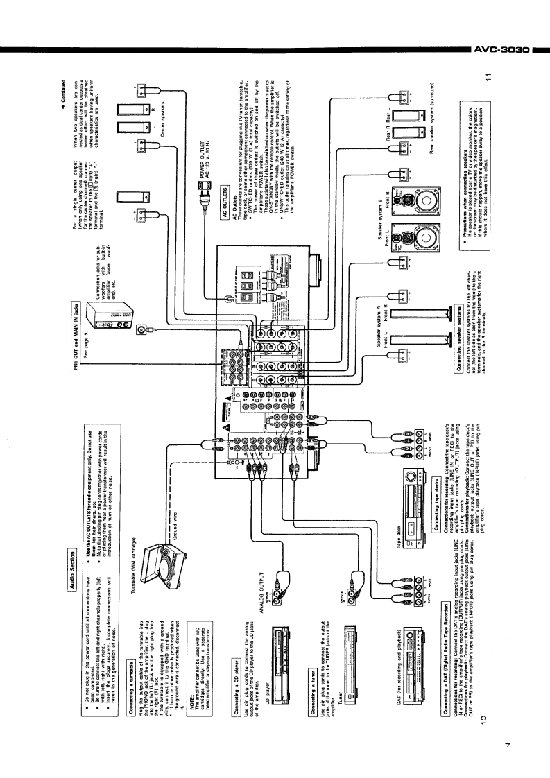
3DENONAV Surround AmplifierSERVICE MANUALMODEL AVC.3▣3OAV SURROUND AMPLIFIER000CONTENTSOPERATING INSTRUCTIONS……2-28DISASSEMBLY2ADJUSTMENTSEMICONDUCT0RS...........................31-37PRINTED WIRING BOARD38-42PRINTED WIRING BOARD PARTS LIST42-WIRINGDIAGRAM ......................................................................50SCHEMATIC DIAGRAM.51-5BLOCK DIAGRAM55EXPLODED VIEW OF CHASSIS AND CABINETPARTS LIST OF EXPLODED VIEW5REMOTE CONTROL UNIT…58-60SCHEMATIC DIAGRAM...............................................................5EXPLODED VIEWPARTS LIST60KEY LAYOUTNIPPON COLUMBIA CO..LTD.
请登录后查看评论内容