

第1页 / 共70页

第2页 / 共70页

第3页 / 共70页

第4页 / 共70页

第5页 / 共70页

第6页 / 共70页

第7页 / 共70页

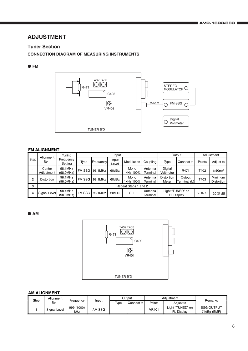
第8页 / 共70页

第9页 / 共70页

第10页 / 共70页
试读已结束,还剩60页,您可下载完整版后进行离线阅读
THE END
DENONFor U.S.A.,Canada,Europe,U.K.,Asia,China,Hong Kong,Taiwan R.O.C.Korea modelHi-Fi ComponentSERVICE MANUALODEL AVR.M8▣E/BB3AV SURROUND RECEIVER0☒。66ō6士'06ō@。。金吸@⑧司88Some illustrations using in this service manual are slightly different from the actual set.DENON,Ltd.16-11,YUSHIMA 3-CHOME.BUNKYOU-KU.TOKYO 113-0034 JAPANTelephone:03 (3837)5321X0154NC0210
请登录后查看评论内容