HarmanKardon-800PLUS-rec-维修说明书手册含电器原理图

HarmanKardon-800PLUS-rec-维修说明书手册含电器原理图-找手册网
HarmanKardon-800PLUS-rec-维修说明书手册含电器原理图
此内容为付费资源,请付费后查看
1921
付费资源

第1页 / 共33页

第2页 / 共33页

第3页 / 共33页

第4页 / 共33页

第5页 / 共33页

第6页 / 共33页

第7页 / 共33页

第8页 / 共33页

第9页 / 共33页

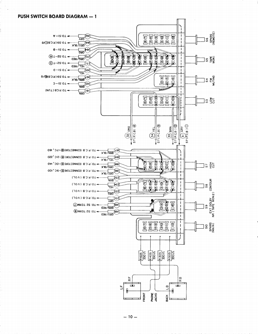
第10页 / 共33页
试读已结束,还剩23页,您可下载完整版后进行离线阅读
THE END
Eic NESoNThe Harman-KardonModel 800+AM/Stereo FMMultichannel ReceiverTechnical Manualsarman/kardon057100120g1060g回回有w5222harman/kardon.
喜欢就支持一下吧
评论 抢沙发

请登录后发表评论

    请登录后查看评论内容