

第1页 / 共106页

第2页 / 共106页

第3页 / 共106页

第4页 / 共106页

第5页 / 共106页

第6页 / 共106页

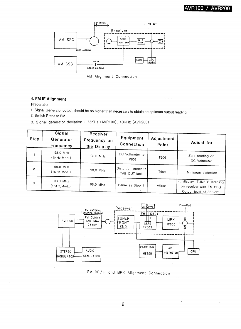
第7页 / 共106页

第8页 / 共106页

第9页 / 共106页

第10页 / 共106页
试读已结束,还剩96页,您可下载完整版后进行离线阅读
THE END
The Harman KardonModel AVR100/AVR200Manual AAUDIO AND VIDEO RECEIVERTechnical Manualharman/kardon AR65682r”2O○○CONTENTSSPECIFICATIONS.....2EXPLODED VIEW....ELECTROSTATICALLY SENSITIVE (ES)DEVICES......335PRINCIPAL SCREW LOCATIONS...37LEAKAGE TEST.........4ELECTRICAL PARTS LIST.....43ALIGNMENT PROCEDURES..5 IC BLOCK DIAGRAMS.71CONTROLS AND FUNCTIONS.....8P.C.BOARDS....85CIRCUIT DESCRIPTION.11SCHEMATIC DIAGRAMS...............93BLOCK DIAGRAM....30WIRING DIAGRAM....101DISASSEMBLY PROCEDURES.....31PACKING MATER LAI.AND PARTS LIST.........102harman/kardonParts and Service Office250 Crossways Park Dr,Woodbury,N.Y.117971112 AVR100 /AVR200 1200 Printed in Korea
请登录后查看评论内容