

第1页 / 共44页

第2页 / 共44页

第3页 / 共44页

第4页 / 共44页

第5页 / 共44页

第6页 / 共44页

第7页 / 共44页

第8页 / 共44页

第9页 / 共44页

第10页 / 共44页
试读已结束,还剩34页,您可下载完整版后进行离线阅读
THE END
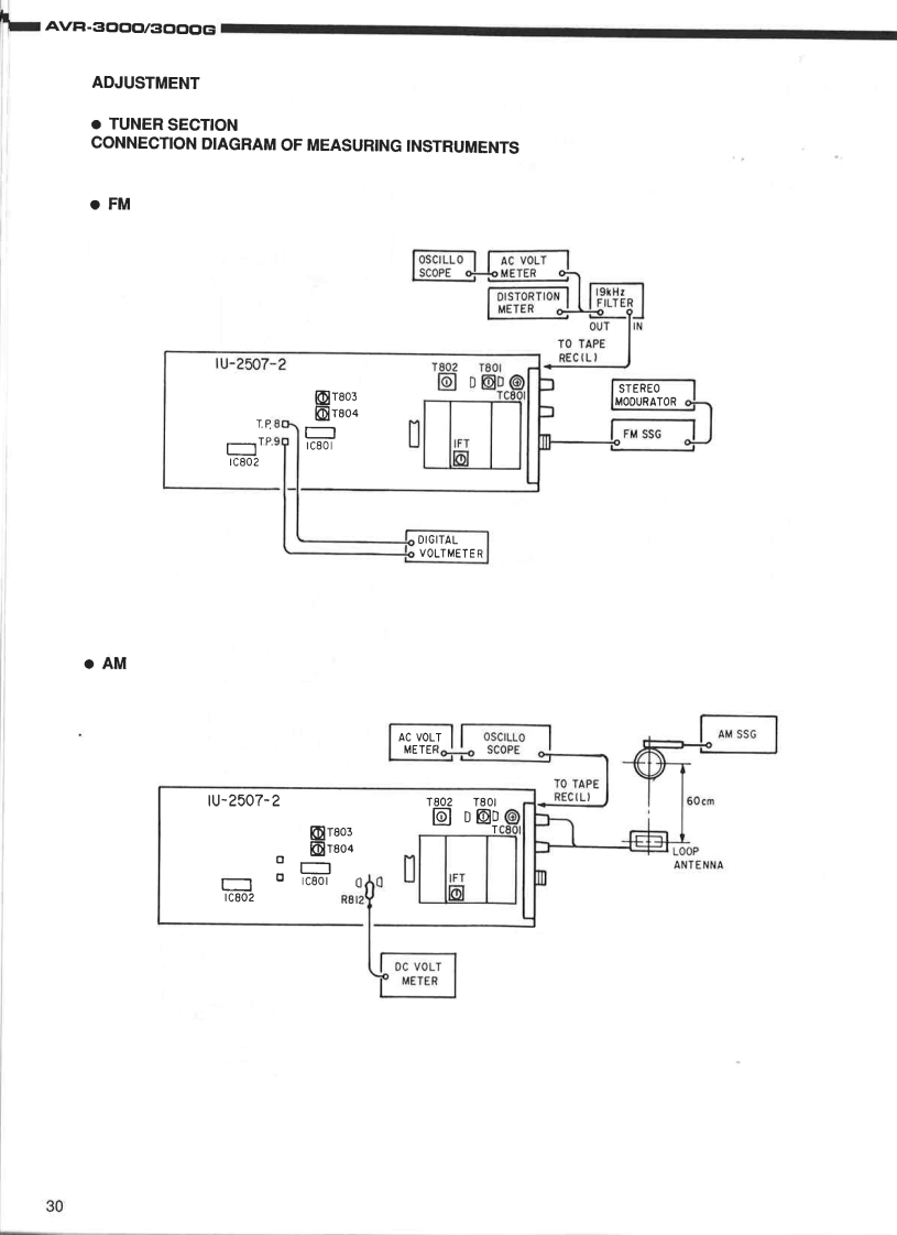
DENONHi-Fi AV Surround ReceiverSERVICE MANUALMODEL AVR-3OOO/3OOOGAV SURROUND RECEIVER二335三92290(Photo:AVR-3000)CONTENTSOPERATING INSTRUCTIONS2-27DISASSEMBLY28.29ADJUSTMENT30-33SEMICONDUCTORS34-41PRINTED WIRING BOARD42-46PRINTED WIRING BOARD PARTS LIST47-53WIRING DIAGRAM.54SCHEMATIC DIAGRAM55-58BLOCK DIAGRAM........59EXPLODED VIEW OF CHASSIS AND CABINETPARTS LIST OF EXPLODED VIEW61,62REMOTE CONTROL UNIT63-66SCHEMATIC DIAGRAM(RC-159)63EXPLODED VIEW(RC-159)PARTS LIST (RC-159).........65KEY LAYOUT (RC-159)5SCHEMATIC DIAGRAM(RC-160)66NIPPON COLUMBIA CO,LTD.
请登录后查看评论内容