

第1页 / 共18页

第2页 / 共18页

第3页 / 共18页

第4页 / 共18页

第5页 / 共18页

第6页 / 共18页

第7页 / 共18页

第8页 / 共18页

第9页 / 共18页

第10页 / 共18页
试读已结束,还剩8页,您可下载完整版后进行离线阅读
THE END
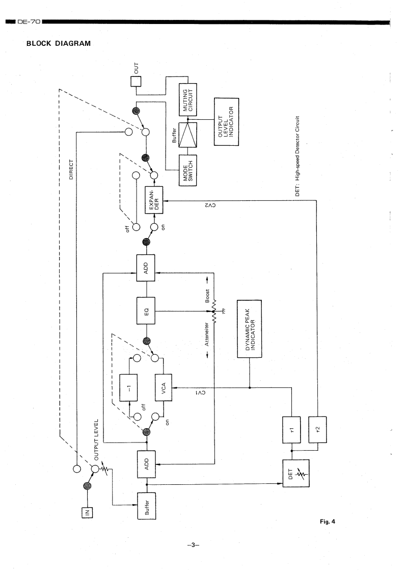
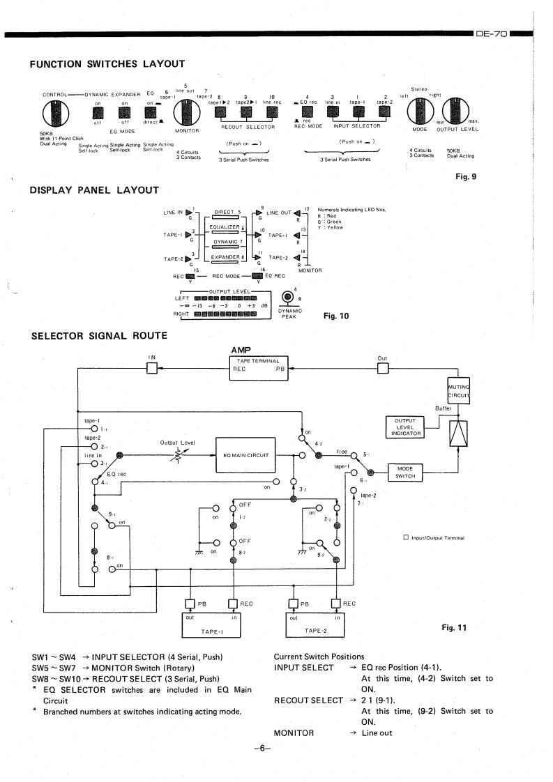
DENONHi-Fi STERE▣GRAPHIC EQUALIZERSERVICE MANUALMODEL DE-70SOLID-STATESTEREO GRAPHIC EQUALIZERTABLE OF CONTENTSSPECIFICATIONS,,,,,·,·······1APPELLATIONS AND FUNCTION OF PARTS.·,··.·,.C0 NNECTIONS,,,,,,,,,,,,,,,,,:。·2BLOCK DIAGRAM...····REMOVAL EACH SECTIONS...,......··.·岁FUNCTION SWITCHES LAYOUT....................6DISPLAY PANEL LAYOUT....·..··.,6SELECTOR SIGNAL ROUTE.··..·.,·8SWITCH FUNCTION TABLE.................1SEMICONDUCTORS·....··.·.·8METHOD OF ADJUSTMENTS.····9PRINTED WIRING BOARD PATTERNS AND PARTS LISTETC0592 B DISPLAY/PSPP.UNIT.........·.·.......:..10ETC0591 EQUALIZER UNIT,··..·ETC0593 VOLUME UNITCONNECTION DIAGRAM.·,·.···.13WIRING DIAGRAM·····.14EXPLODED VIEW OF CHASSIS AND CABINET....15NIPPON COLUMBIA CO..LTD
请登录后查看评论内容