Denon-HA1000-riaa-维修说明书手册含电器原理图

Denon-HA1000-riaa-维修说明书手册含电器原理图-找手册网
Denon-HA1000-riaa-维修说明书手册含电器原理图
此内容为付费资源,请付费后查看
1921
立即购买
您当前未登录!建议登陆后购买,可保存购买订单
付费资源

第1页 / 共7页

第2页 / 共7页

第3页 / 共7页

第4页 / 共7页

第5页 / 共7页

第6页 / 共7页

第7页 / 共7页
已完成全部阅读,共7
THE END
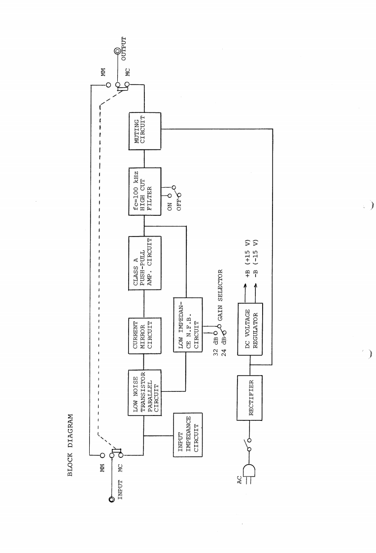
DENONSERVICE MANUALMODEL HA-1▣▣OMOVING COIL CARTRIDGEHEAD AMPLIFIERSPECIFICATIONSInput Impedance:100 ohmVoltage Gain:32 dB/24 dB/0 dB(MM),(three stages)Maximum Output Level:3 VrmsNoise Voltage Reffered Input:-157 dB/V (input terminals shorted IHF "A")+0Frequency Response:8 Hz to 600 kHz-dBTotal Harmonic Distortion:less than 0.008$(at 0.3 Vrms output)(20 Hz to 20 kHz)Intermodulation Distortion:less than 0.008%(at 0.3 Vrms output)(60Hz:7kHz=4:1)Crosstalk (1kHz):less than -70 dBHigh Cut Filter:100 kHz (-6 dB/oct)Power Source:AC 120 volt,60 Hz (for USA and Canada)AC 220/240 volt,50 Hz (for Europe)Power Consumption:12WDimensionsAmplifier Section:125(W)x68(H)x292(D)mmPower Source Section:107(w)x65(H)x141(D)mmWeightAmplifier Section:1.8kgPower Source Section:1.4kg
喜欢就支持一下吧
评论 抢沙发

请登录后发表评论

    请登录后查看评论内容