HarmanKardon-CD391-tape-维修说明书手册含电器原理图

HarmanKardon-CD391-tape-维修说明书手册含电器原理图-找手册网
HarmanKardon-CD391-tape-维修说明书手册含电器原理图
此内容为付费资源,请付费后查看
1921
付费资源

第1页 / 共35页

第2页 / 共35页

第3页 / 共35页

第4页 / 共35页

第5页 / 共35页

第6页 / 共35页

第7页 / 共35页

第8页 / 共35页

第9页 / 共35页

第10页 / 共35页
试读已结束,还剩25页,您可下载完整版后进行离线阅读
THE END
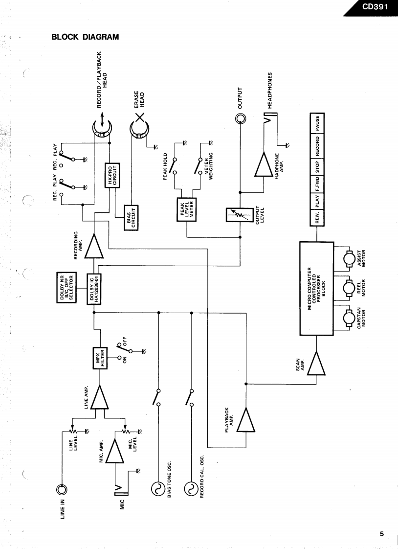
The Harman KardonModel CD391Manual No.68AULTRAWIDEBAND LINEAR PHASE CASSETTE DECKp391Technical Manualharman/kardon240 CROSSWAYS PARK WEST.WOODBURY.N.Y.117071112-H15268A3 P-08836 1650 PRINTED IN JAPAN
喜欢就支持一下吧
评论 抢沙发

请登录后发表评论

    请登录后查看评论内容