

第1页 / 共22页

第2页 / 共22页

第3页 / 共22页

第4页 / 共22页

第5页 / 共22页

第6页 / 共22页

第7页 / 共22页

第8页 / 共22页

第9页 / 共22页

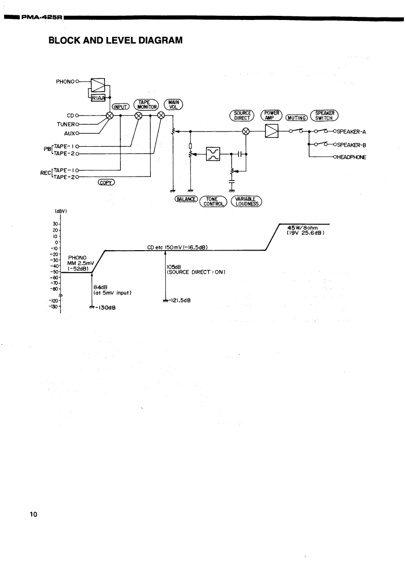
第10页 / 共22页
试读已结束,还剩12页,您可下载完整版后进行离线阅读
THE END
DENONHi-Fi Integrated Stereo AmplifierSERVICE MANUALMODEL PMA-425RINTEGRATED STEREO AMPLIFIER6oooooā668CONTENTSOPERAnNG INSTRUCTIONS.......................................................REMOVALOFEACHSECTION.......................................................218,BLOCK AND LEVEL DIAGRAMMETHOD OF ADJUSTMENTSSEMICONDUCTORS.·12,13PRINTED WIRING BOARD…PARTS LIST OF P.W.B.ASS'Y14…16,EXPLODED VIEW OF CHASSIS AND CABINETPARTS LIST OF EXPLODED VIEWWRINGDIAGRAM......................................................................SCHEMATCDIAGRAM....................................................................2NIPPON COLUMBIA CO.,LTD.
请登录后查看评论内容