

第1页 / 共16页

第2页 / 共16页

第3页 / 共16页

第4页 / 共16页

第5页 / 共16页

第6页 / 共16页

第7页 / 共16页

第8页 / 共16页

第9页 / 共16页

第10页 / 共16页
试读已结束,还剩6页,您可下载完整版后进行离线阅读
THE END
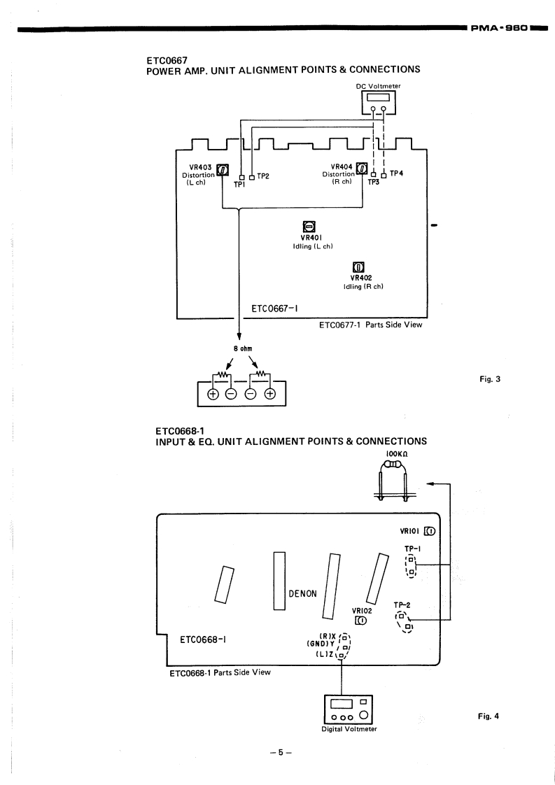
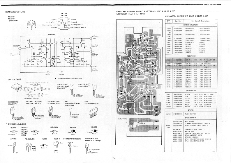
DENONHi-Fi Pre-Main AmplifierSERVICE MANUALMODEL PMA-96OFor EUROPEAN MODELSOLID STATEPRE MAIN AMPLIFIERDDTABLE OF CONTENTSSPECIFICATIONS·,.··,,·,2CONTROLS AND FUNCTIONS ........................................................C0 NNECTIONS…3METHOD OF ADJUSTMENTS,………4BLOCK LEVEL DIAGRAM6SEMICONDUCTORS.....................7PRINTED WIRING BOARD PATTERNS AND PARTS LISTETC0670 D RECTIFIER UNIT,,.……ETC0667D TONE&POWER UNIT ..................................................8ETCO668D INPUT EQ.UNIT .....................................................9CONNECTION DIAGRAM,.,,,,.,···,,,······1WIRING DIAGRAM........EXPLODED VIEW OF CHASSIS AND CABINET PARTS LIST ...........................2NIPPON COLUMBIA CO.,LTD.0CT.1984
请登录后查看评论内容