Akai-AA-1010-维修电器原理图手册

Akai-AA-1010-维修电器原理图手册-找手册网
Akai-AA-1010-维修电器原理图手册
此内容为付费资源,请付费后查看
1921
立即购买
您当前未登录!建议登陆后购买,可保存购买订单
付费资源

第1页 / 共35页

第2页 / 共35页

第3页 / 共35页

第4页 / 共35页

第5页 / 共35页

第6页 / 共35页

第7页 / 共35页

第8页 / 共35页

第9页 / 共35页

第10页 / 共35页
试读已结束,还剩25页,您可下载完整版后进行离线阅读
THE END
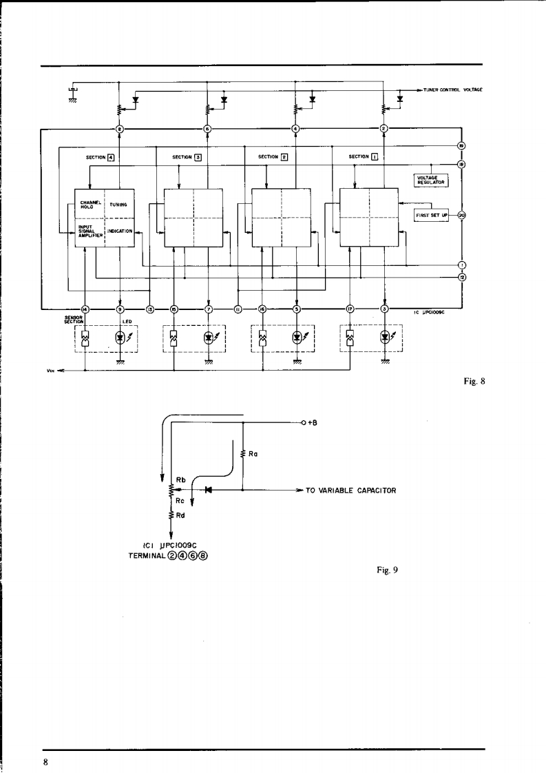
SECTION ISERVICE MANUALTABLE OF CONTENTSTECHNICAL DATA、。。。2II,DISMANTLING OF UNIT ..................................................gIU.CONTROLSIV.PRINCIPAL PARTS LOCATIONS.·,.··,···5V.VARACTOR TUNER AND PRESET TUNING SYSTEM..,·.·.,.,·,·,····61.VARACTOR TUNER ...................................................62.PRESET TUNING SYSTEM,,,···9VL.TUNER ADJUSTMENT..··.101.FM SECTION ADJUSTMENT.102.LW SECTION ADJUSTMENT.123.MW SECTION ADJUSTMENT13VIl.MAIN AMP ADJUSTMENT...·.14VIHI.TUNING CORD THREADING·····..15IX.CLASSIFICATION OF VARIOUS P.C BOARD,·,·..161.RELATION OF P.C BOARD TITLE AND IDENTIFICATION NUMBER.................162.COMPOSrTION OF VARIOUS P.C BOARD....................................17For basic adjustments,measuring methods,and operating principles,refer to GENERAL OPERATING PRINCIPLES ANDADJUSTMENTS..1
喜欢就支持一下吧
评论 抢沙发

请登录后发表评论

    请登录后查看评论内容