

第1页 / 共26页

第2页 / 共26页

第3页 / 共26页

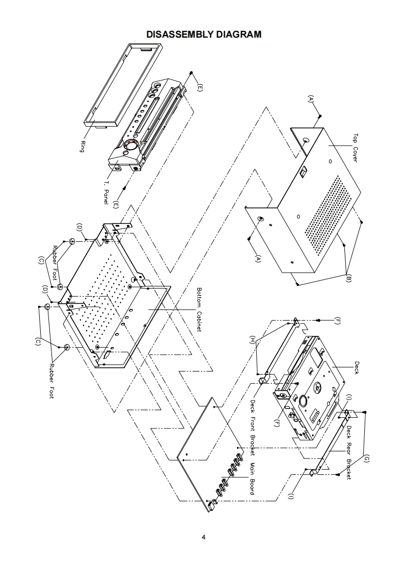
第4页 / 共26页

第5页 / 共26页

第6页 / 共26页

第7页 / 共26页

第8页 / 共26页

第9页 / 共26页

第10页 / 共26页
试读已结束,还剩16页,您可下载完整版后进行离线阅读
THE END
AKAIService anualMOBILE VIDEO SYSTEMDDVD/CD/MP3/MP4 PLAYERPREVSTOPPLAY/PAUSENEXTIRPOWER■ENTERVIDEO IN 1L AUDIO IN1 R1 AV 2DVDSMPSSETUPAMODEL:ADV-85DRNote:Digital Audio Out-CoaxialMulti-subtitle Languages FunctionMulti-audio Languages FunctionMulti-angle FunctionParental Control
请登录后查看评论内容