

第1页 / 共30页

第2页 / 共30页

第3页 / 共30页

第4页 / 共30页

第5页 / 共30页

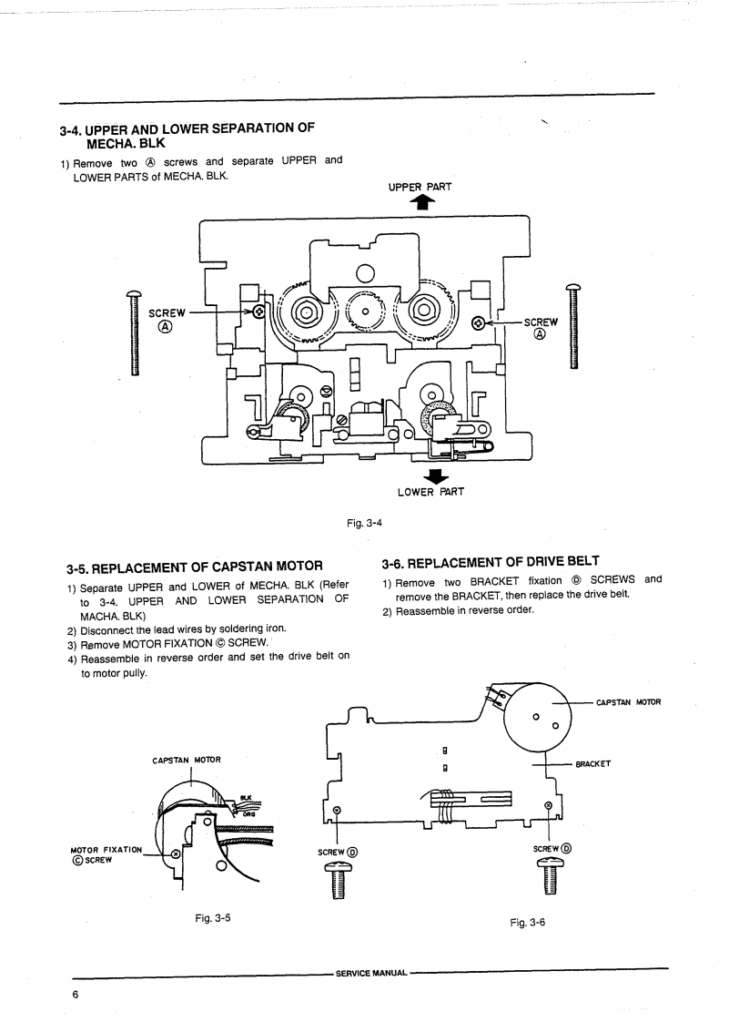
第6页 / 共30页

第7页 / 共30页

第8页 / 共30页

第9页 / 共30页

第10页 / 共30页
试读已结束,还剩20页,您可下载完整版后进行离线阅读
THE END
899GX·GAKAI SERVICE mANUAL8889=二盖器装学3HEADSTEREO CASSETTE DECKMODELGX-65MKISPECIFICATIONSTrack system.......4 track 2 channel stereoTotal harmonic distortion.0.7%HeadsInput (Level/Impedance)Erase head...×1Lne,,…70mV/47kohmsRecording head.......LC-OFC SGX x1OutputPlayback head.....LC-OFC SGX×1(Level/Impedance)MotorsLine ................388mV/2kohmsCapstan drive........Electronically controlled DCHeadphone ..........1.3mW/8ohmsmotor x1Power requirement.......AC 220V,50Hz for Europe ex-Reel drive.............DC motor x1cept UKWow and flutter .........0.06%(DIN),0.035 (WRMS)AC 240V,50Hz for UK and Aus-Tape winding time .......80 sec.(C-60 Tape)traliaFrequency responseAC110V-120V/220V-240V.Normal tape...........15Hz to 19,000Hz 3dB50Hz/60Hz convertible forCrOa tape.............15Hz to 19,000Hz3dBother countriesMetal tape............15Hz to 21,000Hz3dBDimensions425W)×137(H)×353(D)mmS/N.....................57dB (Metal tape)(16.7×5.4×13.9 inchesDolby B type NR switch ON:Im-Weight5.5kg(12.1Ibs)proves up to 5dB at 1kHz,10dBabove 5kHzStandard accesoriesDolby C type NR switch ON:Im-Connection cord ...............×2proves up to 15dB at 500HzRemote control unit20dB at 1kHz to 10kHzDry batteries (R6 (AA))...........2Operator's manual×1For improvement purposes,specifications and design are subject to change without notice.Noise reduction manufactured under license from dolby laboratories licensing corporation."DOLBY"and symbol are trade marks of dolby licensing corporation.8599
请登录后查看评论内容