

第1页 / 共64页

第2页 / 共64页

第3页 / 共64页

第4页 / 共64页

第5页 / 共64页

第6页 / 共64页

第7页 / 共64页

第8页 / 共64页

第9页 / 共64页

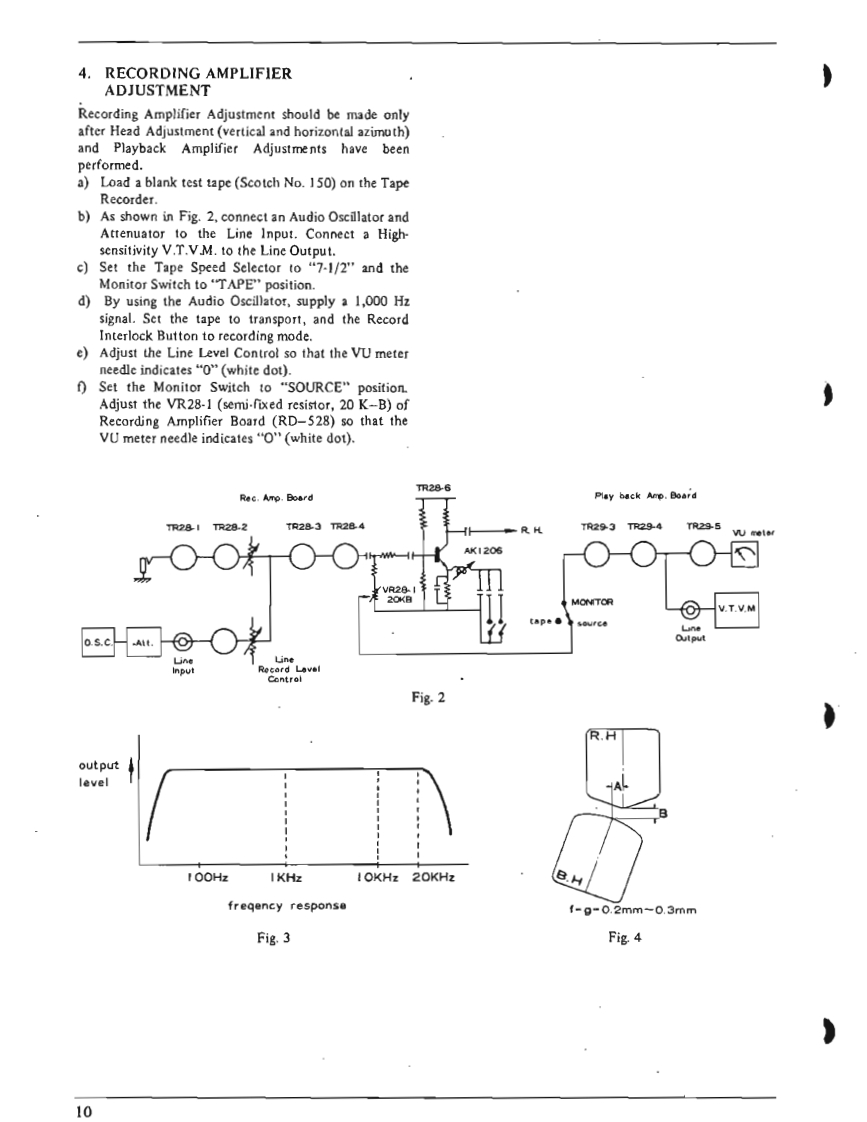
第10页 / 共64页
试读已结束,还剩54页,您可下载完整版后进行离线阅读
THE END
I.SPECIFICATIONSPOWER SUPPLY AC 100 to 240 V,50 or 60 HzMAIN MOTOR Hysteresis Synchronous 3 spcedsRECORDING SYSTEM(2-4-8 pole)motor.In-line 4-track stereo,monaural recordingCondenser Capacity 3MF(50 Hz).2 MFby using Cross-field Bias Head.(60Hz)TAPE SPEED:1-7/8,3-3/4,7-1/2end15ip5Revolutions:TAPE SPEED DEVIATION3,000-1500-750r.p.m.(50Hz)Within 0.5%at 7-1/2 ips3,600-1800-900r.p.m.(60Hz)Within1.0%at 3-3/4 ipsREEL MOTORTwo 6-pole eddy current outer-rotorWithin土】.0%at1-7/8ipsmotorsWOW AND FLUTTERRevolutionsLess than 0.10%rm.s.at 7-1/2 ips930 r.p.m.at 50 Hz,100 VLess than 0.13%r.m.s.at 3-3/4 ips1,120rp.m.at60Hz,120VLess than 0.25%r.m.s.at 1-7/8 ipsHEADSFREQUENCY RESPONSEPLAYBACK HEAD:30to21.000Hz±3dBat7-1/2pIn-line 4-track stereo and monaural30 to 18,000 Hz+3 dB at 3-3/4 ipsImpedance...5,000 ohms at 1,000 Hz40 to 9.000 Hzt4 dB at 1-7/8 ipsGap ..2 micronsSIGNAL TO NOISE RATIORECORDING HEAD(at Line Output)Greater than 48 dB at 7-1/2 ipsIn-line 4-track stereo and monauralGreater than 45 dB at 3-3/4 ipsImpedance...45 ohms at 1,000 HzGreater than 48 dB at 1-7/8 ipsCap...2 micronsTOTAL HARMONIC DISTORTIONERASE HEAD In-line 4-track stereo and monaural(at Line Output,1,000 Hz 0 VU Rec/PB)Impedance...380 ohms at 100 KHzWithin 1.7%at 7-1/2 ipsGap ...0.4 mmWithin 3.0%at 3-3/4 ipsCROSS-FTELD BIAS HEADWithin 3.0%at 1-7/8 ipsIn-line 4-track stereo and monauralRECORDING INPUTSImpedance...430 ohms at 100 KHzMICROPHONE Above 0.7 mVGap...0.4 mmLINE INPUTAbove 70 mVINTERNAL SPEAKERSImpedance...166 K ohms2 4-inch Round SpeakersDIN INPUT:High:70mV166 K ohmsNominal Power Input...3 W.16 ohmsLow 7mV 16 K ohmsTRANSISTORS USEDOUTPUTS:152SC458LG@/©LINE OUTPUTRequired Load Impedance152SC372more than 50,000 ohms12SC828①1.23 V (+4 dbs 1.5 db)at 7-1/2 ips32SC538A@1.03 V(+2.5 dbst 1.5 db)at 3-3/4 ips22SC650@X-360D (without0.82V(+0.5dbs±1.5db)at1-7/8ips12sC728Main Amplifier)44e3.POWER OUTPUT:External Speaker Jack1 2SB75AMore than 10 W at 8 ohms Non-inductive12SB77A®resistance42SD157NOISELess than 5 mV at 8 ohms at Extemal12SD147Speaker Jack62SC828R(Volume Control at"Minimum"position)2 2SCS3BRQMain AmplificrFAST FORWARD AND REWIND TIME4 2SC696EB16ea.75 seconds for a full 1,200 foot tape42sD130Rat 50 HzDIODE USED9 IN34A60 seconds for a full 1.200 foot tape210D2at 60 Hz1210D4CROSS-TALKLess than -70 dB (Monaural)110D6Less than-43 dB(Stereo)15B2ERASE RATIO More than 70 dB2sL150INSULATION DURABILITY2sL-150d500 V AC for more thmn omne minte2 IN759Aduration1 RD-24ABIAS FREQUENCY:100 KHz
请登录后查看评论内容