

第1页 / 共24页

第2页 / 共24页

第3页 / 共24页

第4页 / 共24页

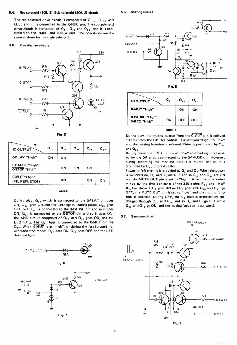
第5页 / 共24页
试读已结束,还剩19页,您可下载完整版后进行离线阅读
THE END
STEREO CASSETTE DECK WITHDOLBY NR SYSTEMMODEL No.AD-M600H,C,U,E,K,GAIWA(SERVICE MANUAL】Code No.20-600-000-52DATE OF ISSUE 11/1979SPECIFICATIONSSemiconductor:54 diod0VU 0.5 dBPower source:Bias frequency:100 kHzAC110V/120V220V240VFrequency response-20E modelMETAL:20~19,000HAC110-120V220V240V28、18880H20-16000HBias adjustment range10%(METALitchable 50/60 Hzt20%LH.FeCr,Cr0:】Power consumption:Motor:Dimensions:450VWM×120(H)×27001mm3x4-34"Hx10-3/4oHead:7 kgErasureC.U modelDouble gap ferrite head15.41bsAC biasTrack symgrgmnput:Full to stop(200 -~10 ks suitable)Automatie shut-off action time:LINE IN:Max.input sensitivity350130.430.29N50 mV50±10g49098 mN-mb(More than 50k155:65g-em11520·637mNmlDIN:0.1 mV/k (2.7 kflFF&rewind time:65器t0o0t8mOuptutLINE OUT:Standard output leve0.41V0VUis[Un-Weighted)DOLBY NR OFF/ON)Less'than 2.0/1.5 mV (LHDIN:Standard output levelP80.41V0UjoRec./Pb distortion:Less than 0.8%(METAL)(400Hz0VU)Les than 2.0%(CrO,PHONES:anm(Un-Weighted)L.L.aYtalk:More than 63 dB[1 kHz 0 VU).Spocifications and external appearance are subject to的re than60dBDolby Labor4002.The name"Dolby"and the Symbal are trademarks of Dolby Laboratries
请登录后查看评论内容