

第1页 / 共36页

第2页 / 共36页

第3页 / 共36页

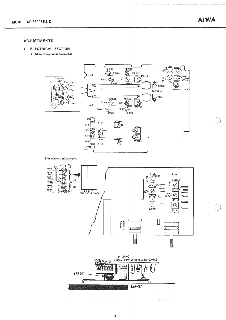
第4页 / 共36页

第5页 / 共36页
试读已结束,还剩31页,您可下载完整版后进行离线阅读
THE END
STEREO CASSETTE DECKWITHDOLBYSYSTEMMoDELAD-6500EE,UKAIWA(SERVICE MANUAL】soSet using ISO screwsAIWADATE OF ISSUE 25/12/1975SPECIFICATIONSTypeStereo cassette tape deck w/built-inMotorDC servo motorDolby NR SystemHeadFerrite guard head (FGH)Track Format4 tracks 2 channelsInputsMIC max.sensitivity 0.25 mVCircuitry1 IC.36 transistors,27 diodes,2 FET,(200 ohms ~10k ohms usable)4 LEDLINE IN max.sensitivity 50 mVPower Supply'EE"model(more than 100k ohms)AC 110~120 V/220~240 V,switchableDIN max.sensitivity 0.1 mV/k ohms50 Hz/60 Hz(5 k ohms)"UK"modelOutputsLINE OUT standard level 0.775 V(0 VU)AC 120 V/240 V,switchableOptimum load impedance more than50 Hz/60 Hz50 k ohmsPower Consumption13WDIN standard level 0.775 V (0 VU)Frequency Responseaccording to DIN 45 500 Blatt 8Headphones 8 ohmsLH tape:3012,500HzDimensions450(W)×155(H)×300(D)mmCrO2 tape:3016.000Hz17-11/16"×6-1/8"×11-13/16")Fe-Cr tape:3016,000HzWeight8.5kg(18.721bs)SN Ratioaccording to DINAccessoriesDIN cord58 dBHead cleaning stick(CrO2/Fe-Cr tape,DOLBY NR on)Tape cassette1Wow Flutteraccording to DIN 45 500 Blatt 80.13%Specifications and external appearance are subject to changeTape Speed4.8cm/sec.(1-7/8ips)without notice due to product improvement.Rewind Time90sec.(C-60).Dolby Noise Reduction System is licensed from DolbyFast Forward Time95sec.(C60)Laboratories Incorporated.Recording SystemAC bias (frequency 100 kHz)The name"Dolby"and the "Double D"'symbol are trademarksErase SystemAC eraseof Dolby Laboratories Incorporated.
请登录后查看评论内容