

第1页 / 共71页

第2页 / 共71页

第3页 / 共71页

第4页 / 共71页

第5页 / 共71页

第6页 / 共71页

第7页 / 共71页

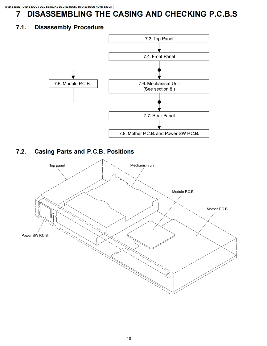
第8页 / 共71页

第9页 / 共71页

第10页 / 共71页
试读已结束,还剩61页,您可下载完整版后进行离线阅读
THE END
ORDER NO.CHM0704012CEService ManualDVD PlayerDVD-S33EEDVD-S33GCDVD-S33GCADVD-S33GCSDVD-S33GCUDVD-S33GNDL4.5 Mechanism SeriesColor(S)..Silver TypeSpecificationsPower supply:AC230 V,50 Hz(4)DVD-RW(DVD-Video,MPEG4"57,DivX'6.7,MP32.7.(DVD-S33EE)JPEG*.)AC110-240V,5060Hz(⑤+R/+RW(Mdeo)(DVD-S33GC/GCA/GCS/GCU)(6)+R DL (Video)AC230-240V.50Hz(7)CD,CD-R RW (CD-DA,Video CD,SVCD"1,MP32.7WMA 3.7.JPEG4.7,MPEG4'5.7,DivX'6.7)(DVD-S33GN)Power consumption:9WConforming to IEC62107*2MPEG-1 Layer 3,MPEG-2 Layer 3Power consumption in standby mode:*3approx.1 WWindows Media Audio Ver.9.0 L3Not compatible with Multiple Bit Rate (MBR)Dimensions:430(W×231(D)×43(Hmm(excluding protrusions)*4Exif Ver 2.1 JPEG Baseline files430(M×263(D)×43(HmmPicture resolution:between 160 x 120 and 6144 x 4096(including protrusions)pixels (Sub sampling is 4:2:2 or 4:2:0)Mass:2.0 kg (approx.)*5MPEG4 data recorded with the Panasonic SD multi camerasSignal system:PAL 625/50,PAL 525/60,NTSCor DVD video recorders Confoming to SD VIDEOspecifications (ASF standard)/MPEG4 (Simple Profile)(DVD-S33EE/GC/GCA/GN)video system/G.726 audio systemNTSC.PAL 625/50.PAL 525/60*6Plays all versions of DivXvideo (including DivX6)with(DVD-S33GCS/GCU)standard playback of DivX media files.Certified to the DivXOperating temperature range:+5 to +35CHome Theater Profile.Operating humidity range:5 to 90%RH (no condensation)GMC (Global Motion Compensation)is not supported.Discs played [8 cm (3")or 12 cm (5")]:The total combined maximum number of recognizable audio(1)DVD (DVD-Video,DivX'6.7)picture and video contents and groups:4000 audio,pictureand video contents and 256 groups.2)DVD-R(DVD-Video,DivX"67,MP32.7,JPEG.7,MPEG4'5.7)3)DVD-R DL (DVD-Video)Video output:2007 Matsushita Electric Industrial CO.,Ltd.AllPanasonicrights reserved.Unauthorized copying anddistribution is a violation of law.
请登录后查看评论内容