

第1页 / 共23页

第2页 / 共23页

第3页 / 共23页

第4页 / 共23页

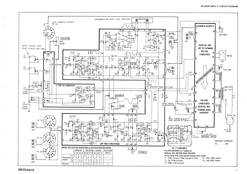
第5页 / 共23页

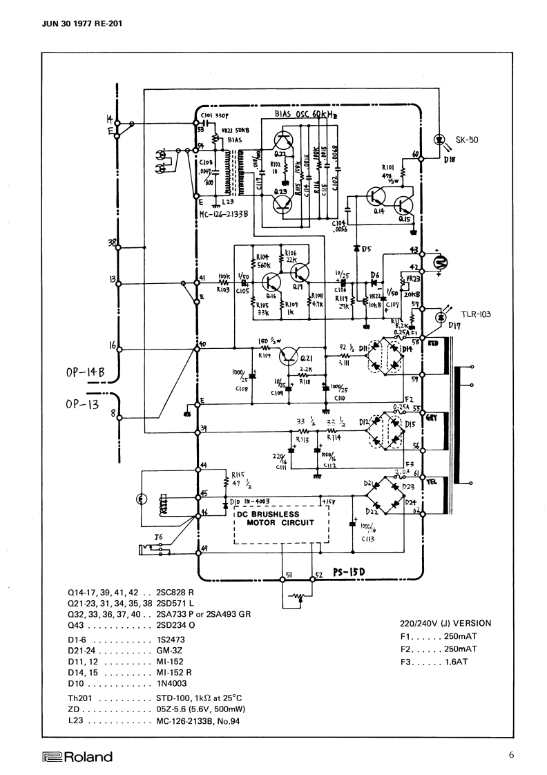
第6页 / 共23页

第7页 / 共23页

第8页 / 共23页

第9页 / 共23页

第10页 / 共23页
试读已结束,还剩13页,您可下载完整版后进行离线阅读
THE END
JUL301978RE-201/101ECHO CHAMBERRE-2o1/1o1SERVICE NOTESCONTENTSSPECIFICATIONS (RE-201/101).....................RE-201PCB CHANGES2BL0 CK DIAGRAM…2MINIATURE BOARD OP-13/ECHO BOARD OP-.l4B/FILTER BOARD FL-7·····2OP-16/0P-14B/PL-7 CIRCUIT DIAGRAM ................................................POWER SUPPLY PS-15D (SERIAL NO.576450 AND HIGHER).........POWER SUPPLY PS-l5 D CIRCUIT DIAGRAM·.·..·.··.·6POWER SUPPLY PS-15C (SERIAL NO.UP TO 576449).................7POWER SUPPLY PS-15C CIRCUIT DIAGRAM ................................................8RE-101CB CHANGES,。,,。,,,。,。,,。。,,·,,·,·。。···。··9BL0 CK DIAGRAM…9MINIATURE BOARD OP-16 ECHO BOARD OP-17B FILTER BOARD FL-7 CIRCUIT DIAGRAM ....10RE-201/101MOTOR REPLACEMENT·,·.·,····TAPE PACK CHASSIS ASSEMBLYADJUSTMENT AND CHECKING1.MECHANICAL ADJUSTMENT132.ELECTRICAL ADJUSTMENT15PARTS…19PARTS LIST······21SECOND EDITION July 30,1978All of the information contained inthe first edition and the supplementis collected in this second edition.皇RolandPrinted in Japan Apr.1982 A-3
请登录后查看评论内容