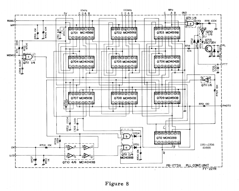
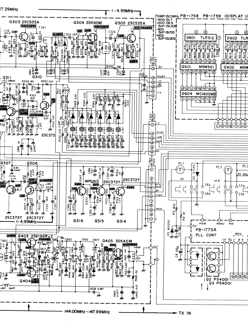
FT-227R_电器原理图找手册网24天前发布关注私信10.38MB13页037FT-227R_电器原理图此内容为付费资源,请付费后查看¥19¥21黄金会员免费钻石会员免费登录购买付费资源 第1页 / 共13页 第2页 / 共13页 第3页 / 共13页 第4页 / 共13页 第5页 / 共13页 第6页 / 共13页 第7页 / 共13页 第8页 / 共13页 第9页 / 共13页 第10页 / 共13页 试读已结束,还剩3页,您可下载完整版后进行离线阅读 THE END八重洲 文本预览 Pi659 MAIN UNI行器图品图锅图图品密a299982r03CNOCE AMPDETELCH00=57工U杯T022D方IE APAx T4T5555017P阳-758,1759P8-773PLLCδNT UNIf0601-0604LR4-0004-509002.3MD CONCH SWFT-227R MEMORIZER BLOCK DIAGRAMFigure 7 查看更多 收起部分 喜欢就支持一下吧收藏
请登录后查看评论内容