

第1页 / 共29页

第2页 / 共29页

第3页 / 共29页

第4页 / 共29页

第5页 / 共29页

第6页 / 共29页

第7页 / 共29页

第8页 / 共29页

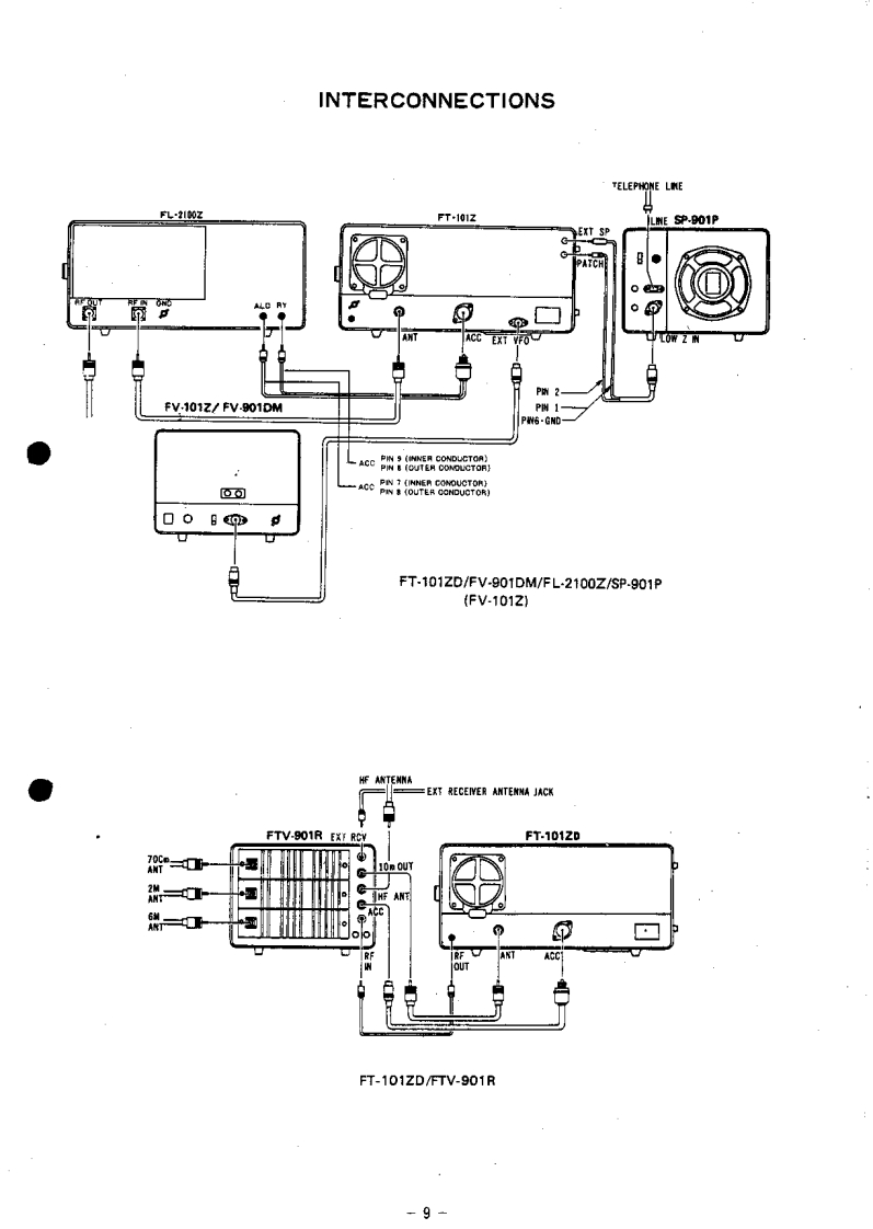
第9页 / 共29页

第10页 / 共29页
试读已结束,还剩19页,您可下载完整版后进行离线阅读
THE END
HIGH-PERFORMANCE HF TRANSCEIVERYAESU FT-101ZD12500●GENERAL DESCRIPTIONThe FT-101ZD is a precision engineered,high-All circuits,except the transmitter driver and finalperformance HF transceiver of advanced design,amplifier stages,are solid state.Solid state devicesproviding all band (160-10 meters)operation onprovide extremely high reliability and high com-SSB.CW,and AM.This transceiver operates at anponent density,along with low power drain.Theinput power of 180 watts.FT-101ZD may be operated from a variety of ACvoltages,from 100 to 234 volts.A DC-DCAdvanced features include digital plus analogconverter,providing operation from a 13.5 VDCfrequency display,continuously variable IF band-power source,is an available option.width (300 Hz-2.4 kHz),a superb noise blankerwith threshold adjustment,and an effective RFFor the economy FT-101Z,the counter unit is anspeech'processor.The receiver boasts excellentavailable option,providing digital display capabilitydynamic range,despite its high sensitivity,forshould you want to upgrade your transceiver at areliable operation in the presence of strong signals.later date.Optional equipment on both modelsFT-101ZD and FT-101Z are the cooling fan,DC-Built into every FT-101ZD are VOX,semi-break-inDC converter,600 Hz CW filter,and microphone.CW with sidetone,a 25 kHz crystal calibrator,selectable AGC,and a 10 dB/20 dB RF attenuatorA diecast front panel,and the heavy-duty case,in the incoming signal path.provide maximum protection for your transceiver.If the ratings of this unit are not exceeded,it willThe FT-101ZD has been engineered for use.provide the owner with many years of satisfyingControls and switches are laid out in an efficientoperation.Please read this manual carefully beforeand logical manner,so you won't have to fumblecommencing operation,in order to derive maxi-for a switch or knob when you need it quickly.mum satisfaction from your new YAESU trans-And Yaesu designers have now made it possibleceiver.for you to switch sidebands without recalibratingthe display.
请登录后查看评论内容