NIKON尼康数码相机Lite-Touch-Zoom-70—Zoom-310维修手册零部件手册

NIKON尼康数码相机Lite-Touch-Zoom-70---Zoom-310维修手册零部件手册-找手册网
NIKON尼康数码相机Lite-Touch-Zoom-70—Zoom-310维修手册零部件手册
此内容为付费资源,请付费后查看
1921
立即购买
您当前未登录!建议登陆后购买,可保存购买订单
付费资源

第1页 / 共40页

第2页 / 共40页

第3页 / 共40页

第4页 / 共40页

第5页 / 共40页

第6页 / 共40页

第7页 / 共40页

第8页 / 共40页

第9页 / 共40页

第10页 / 共40页
试读已结束,还剩30页,您可下载完整版后进行离线阅读
THE END
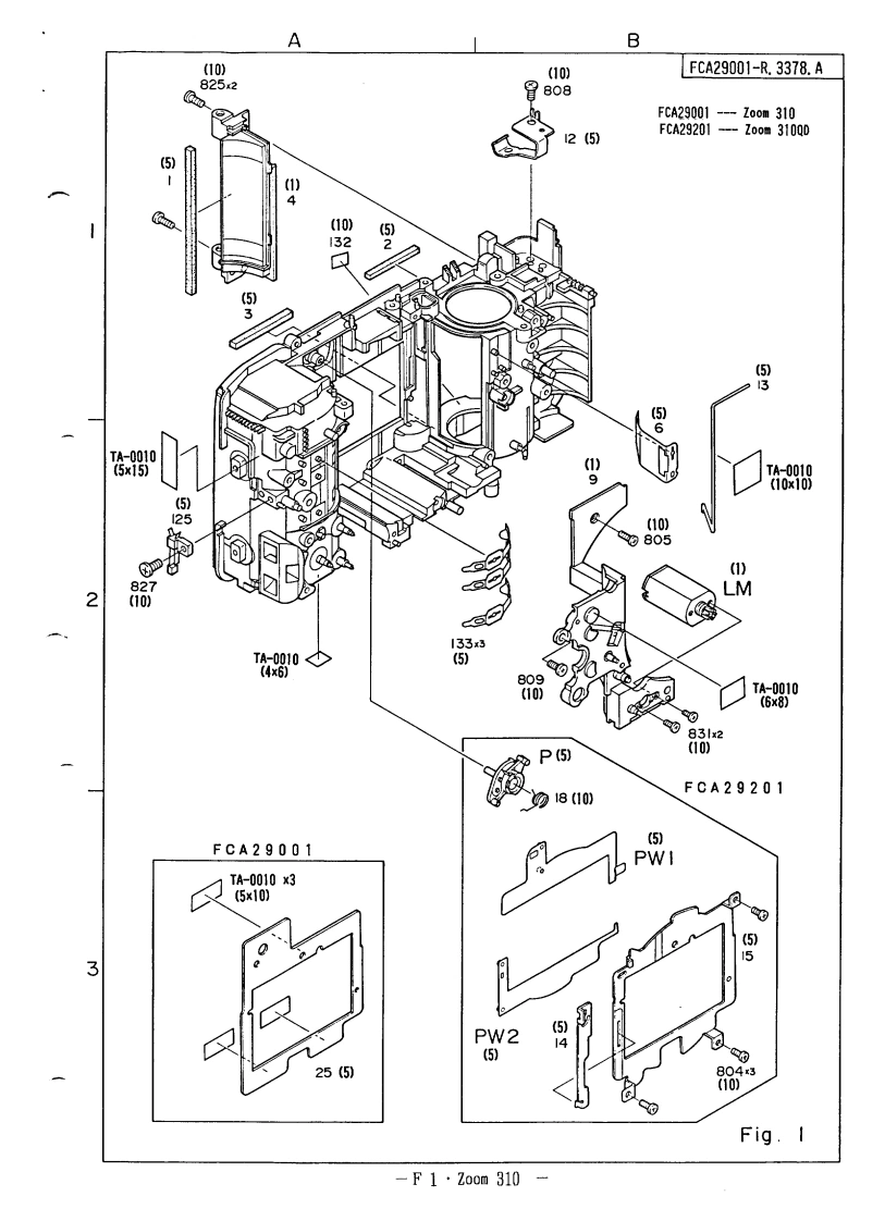
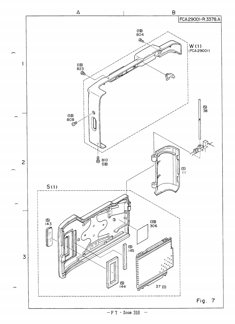
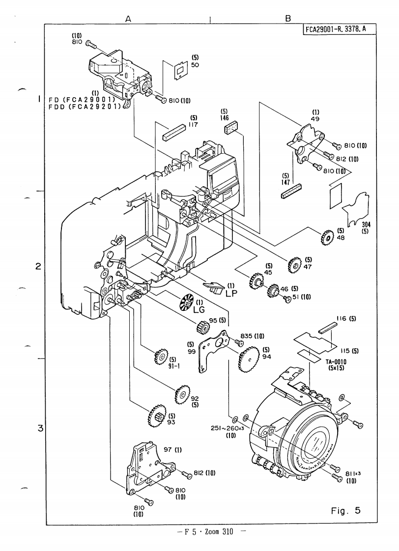
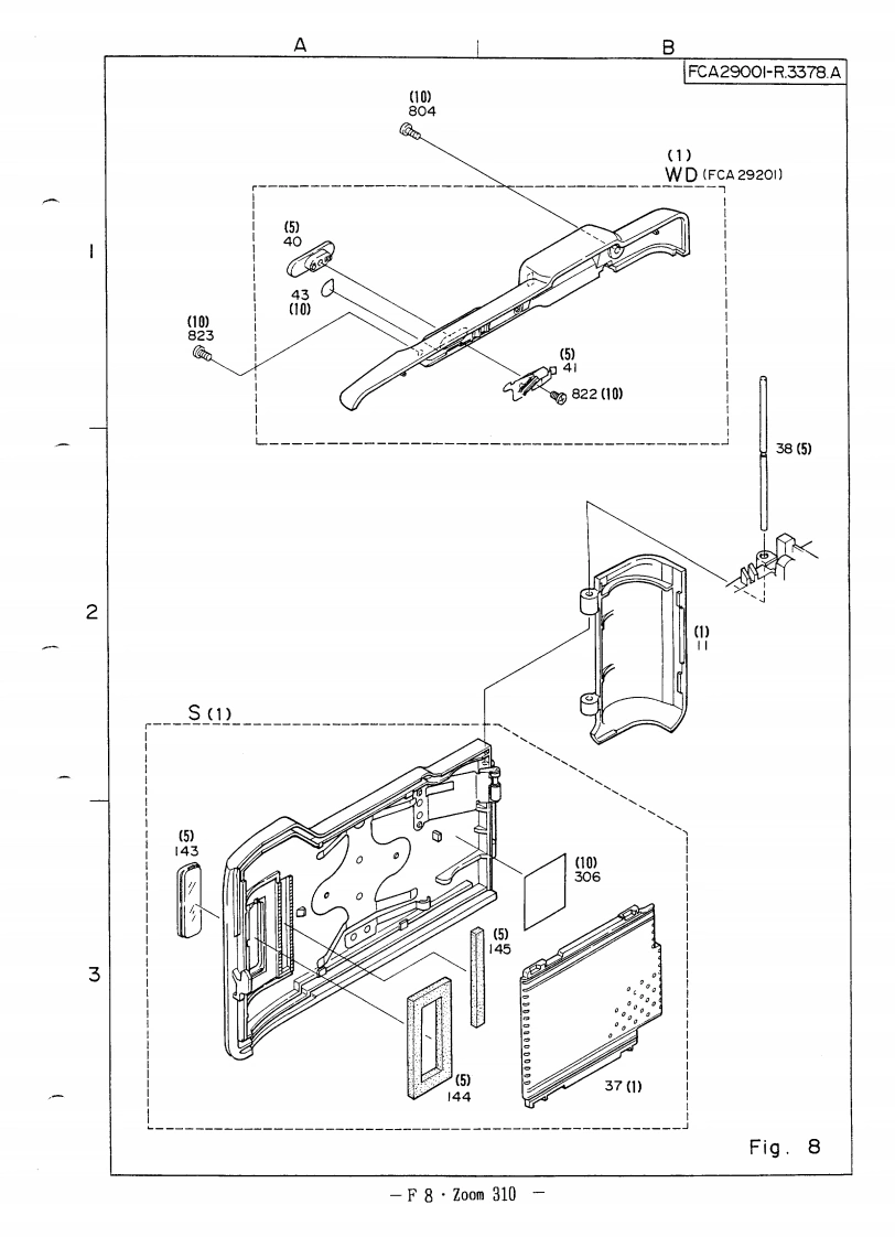
FCA29001-R.3378.A作成承認印配布許可印】GMZ①M31OFCA290011①M31OQDFCA29201Lite-Touch Zoom 70FCA29101PARTS LIST修理部品表NKONIKON CORPORATIONTokyo.JapanCopyrightC1995 by Nikon Corporation.All Rights Reserved.無断酝载苍禁寸∥Printed in Japan January 1995
喜欢就支持一下吧
评论 抢沙发

请登录后发表评论

    请登录后查看评论内容