NIKON尼康数码相机MB-20维修手册零部件手册

NIKON尼康数码相机MB-20维修手册零部件手册-找手册网
NIKON尼康数码相机MB-20维修手册零部件手册
此内容为付费资源,请付费后查看
1921
立即购买
您当前未登录!建议登陆后购买,可保存购买订单
付费资源

第1页 / 共4页

第2页 / 共4页

第3页 / 共4页

第4页 / 共4页
已完成全部阅读,共4
THE END
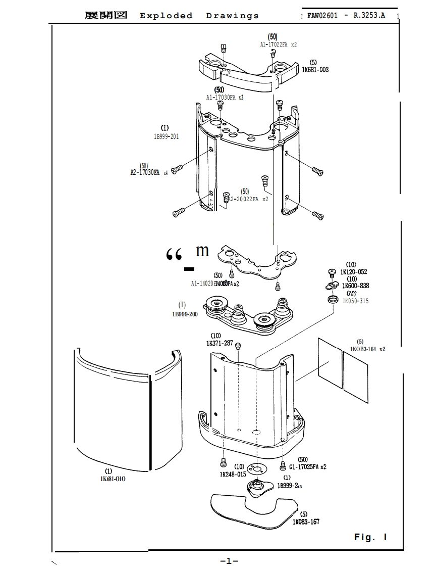
EAN02601-R.3253.ABattery PackMB-20FOR F4/F4sPARTS LISTNiKOn NIKON CORPORATIONTokyo,Japan⊙A8rS是SERVED無断耘戟苍禁寸
喜欢就支持一下吧
评论 抢沙发

请登录后发表评论

    请登录后查看评论内容