NIKON尼康数码相机MB-23维修手册零部件手册

NIKON尼康数码相机MB-23维修手册零部件手册-找手册网
NIKON尼康数码相机MB-23维修手册零部件手册
此内容为付费资源,请付费后查看
1921
立即购买
您当前未登录!建议登陆后购买,可保存购买订单
付费资源

第1页 / 共23页

第2页 / 共23页

第3页 / 共23页

第4页 / 共23页

第5页 / 共23页

第6页 / 共23页

第7页 / 共23页

第8页 / 共23页

第9页 / 共23页

第10页 / 共23页
试读已结束,还剩13页,您可下载完整版后进行离线阅读
THE END
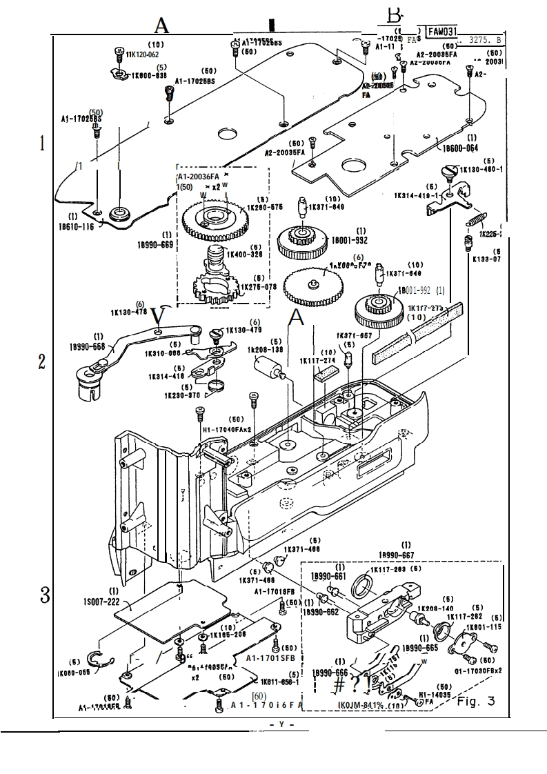
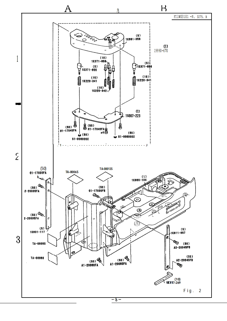
EAW03101-R,3275.B作成承纪印配布并可印GMulti-Power High SpeedBattery PackMB-23for F4/F4sPARTS LIST (REVISED-1)修理部品表(改酊-1)NiKon NIKON CORPORATIONTokyo,Japan©Copyrigh1994ALL RIGHTS RESERVEDJune1,1994無断耘戴苍禁少业Printed in Japan June
喜欢就支持一下吧
评论 抢沙发

请登录后发表评论

    请登录后查看评论内容