

第1页 / 共28页

第2页 / 共28页

第3页 / 共28页

第4页 / 共28页

第5页 / 共28页

第6页 / 共28页

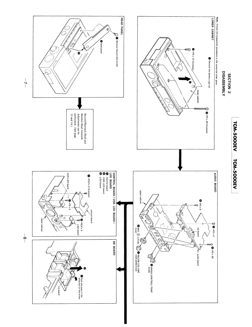
第7页 / 共28页

第8页 / 共28页

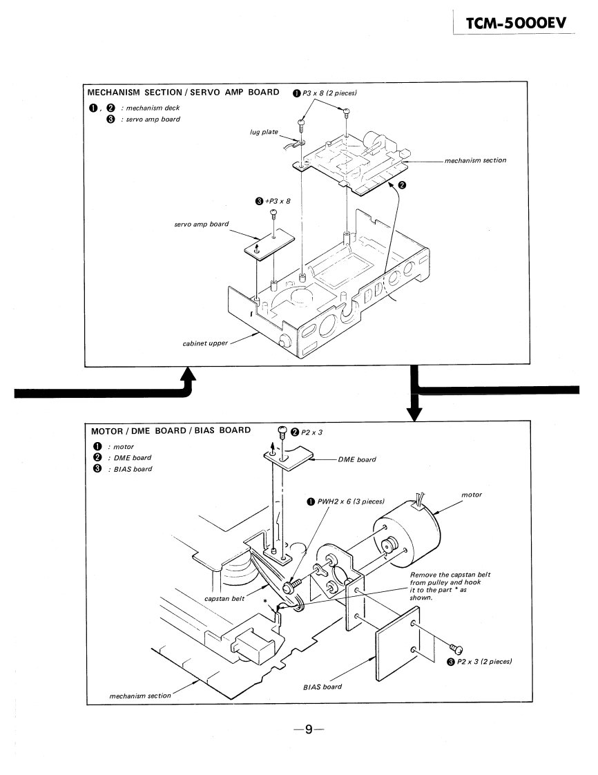
第9页 / 共28页

第10页 / 共28页
试读已结束,还剩18页,您可下载完整版后进行离线阅读
THE END
TCM-5000EVSERVICE MANUALUS ModelCanadian ModelAEP ModelUK ModelE ModelSPECIFICATIONSRecording systemoptional Sony DCC-127A car2-track 1-channel monauralbattery cord for use on 12V carSpeakerApprox.9.2cm (3%inches)dia.batteryFast winding timeoptional Sony DCC-240 carApprox.2min.with Sony C-60battery cord for use on 24V carcassettebatteryPlayback speed0%adjustableBattery life (US,Canadian Model)Frequency responseBatteries90-9,000HzRecordingPlaybackVOR recording:300-5,000 HzSony SUM-2(NS)InputsMicrophone input(minijack)New Super or EvereadyApprox.Approx.sensitivity 0.2mV (-72dB)forHeavy Duty No.12358 hours7 hourslow impedance microphonebatteriesMixing microphone inputEveready No.E93ApproxApprox.(minijack)alkaline batteries20 hours20 hourssensitivity 0.44 mV (-65dB)forlow impedance microphoneLine input (minijack)Battery life (AEP,UK,E Model)sensitivity 0.06V(-22dB)BatteriesRecordingPlaybackinput impedance 100 kilohmsOutputEarphone(minijack)Sony SUM-2(NS)Approx.Approx.for 8 to 300 ohm earphone orNew Super batteries8 hours7 hoursload impedance 10 kilohms orSony Eveready AM2Approx.Approx.higheralkaline batteries20 hours20 hoursOther jackRemote control jackPower output700mW (at 10%harmonicdistortion)DimensionsApprox.270.8×58.4×154mmPower requirements(w/h/d)6V dc10%×2%×6%inches)4 batteries size C(IEC designaincl.projecting parts andtion R14)controlsor optional Sony BP.16HWeightApprox.1.45kg (31b 4oz)rechargeable battery packincl.batteriesDC IN 6V jack accepts:optional Sony AC-61 ac poweradaptor (in the USA)or optionalAC-12 ac power adaptor (inCanada)for use on 120V ac,60 Hz (US,Canadian Model)optional Sony AC-122 ac powerCASSETTE CORDERadaptor (available in the UnitedKingdom and European coun-tries)for use on 110,127,220 or240 V ac,50 Hz (AEP,UK,E Model)SONYoptional Sony AC-122 ac poweradaptor (available in other coun-便网附资科用卡影0二tries)for use on 110,120,220 or240 V ac,50/60 Hz (AEP,UK,E Model)Tc
请登录后查看评论内容