

第1页 / 共27页

第2页 / 共27页

第3页 / 共27页

第4页 / 共27页

第5页 / 共27页

第6页 / 共27页

第7页 / 共27页

第8页 / 共27页

第9页 / 共27页

第10页 / 共27页
试读已结束,还剩17页,您可下载完整版后进行离线阅读
THE END
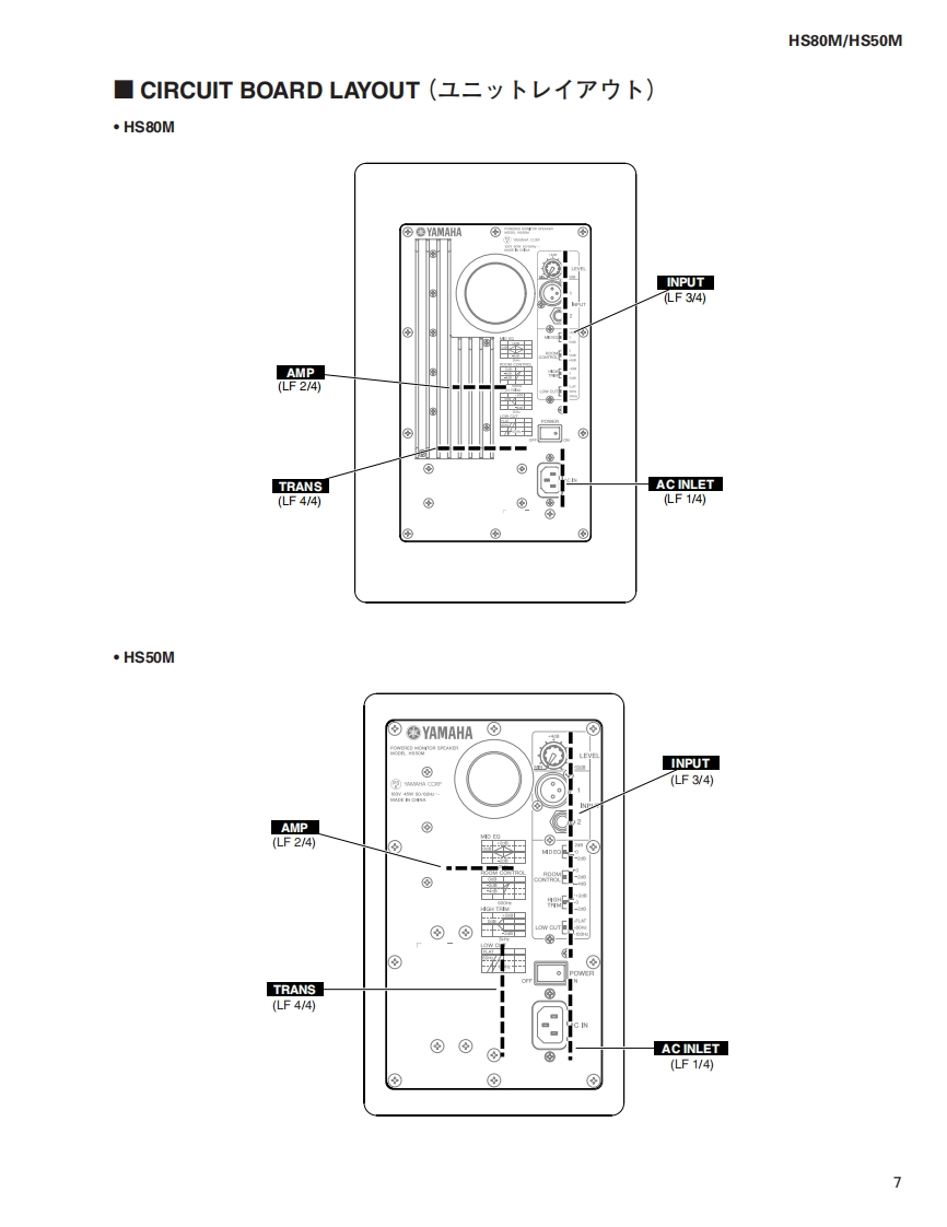
HSPOWERED MONITOR SPEAKERseriesHS 80M/HS50MHS80M/HS50MSERVICE MANUAL■CONTENTS(目次)HS80 M SPECIFICATIONS(総合仕樣)3HS50 M SPECIFICATIONS(瓮合仕樣)DIMENSIONS(寸法☒).....5PANEL LAYOUT(Iパ礻儿亻予卜)CIRCUIT BOARD LAYOUT(ユ二y卜亻T卜)7HS8 OM DISASSEMBLY PROCEDURE(分解手順)nnnnn8HS50 M DISASSEMBLY PROCEDURE(分解手順)11CIRCUIT BOARDS(-卜基板☒)..14之功竹-E天7三ュT性工3代了HS8 OM INSPECTIONS(検查)15(住CF:微地素系潭白代刀专使用LTL主节。HS50 M INSPECTIONS(検查)16BLOCK DIAGRAM(ブ口y夕ダ亻T方ラ厶)OVERALL CIRCUIT DIAGRAM(瓮回路☒)PARTS LISTPA011806YAMAHAHAMAMATSU,JAPANHS80M:200510-47250HS50M:200510-26250Copyrig ht (c)Yamaha Corporation.All rights reserved.PDF M LP veo Printed in Japan '05.12
请登录后查看评论内容