

第1页 / 共24页

第2页 / 共24页

第3页 / 共24页

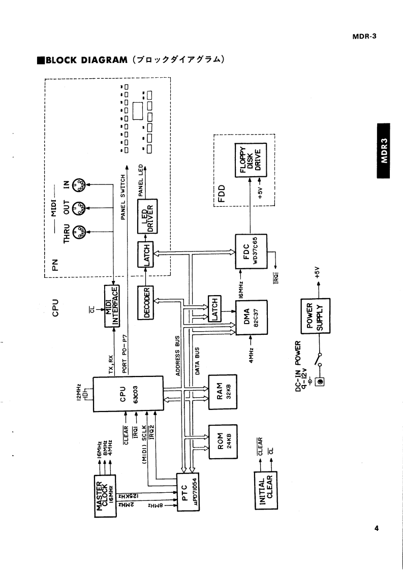
第4页 / 共24页

第5页 / 共24页

第6页 / 共24页

第7页 / 共24页

第8页 / 共24页

第9页 / 共24页

第10页 / 共24页
试读已结束,还剩14页,您可下载完整版后进行离线阅读
THE END
MUSIC DISK RECORDERMDR-3/MDR-3PSERVICE MANUALYAMAHA的宽MDR-3:U、C、HMDR-3P:J■CONTENTS(目次)SPECIFICATIONS(仕樣)…1LOADING AND EXECUTION OF IPLPANEL LAYOUT(パ*儿LT7卜)…2(IPL口一ド刃方法之尖行)·15CIRCUIT BOARD LAYOUT(1=y卜T7)·3FILE FORMAT(771儿7才-マy卜)·16BLOCK DIAGRAM(ブ口y夕☒)…4LED MATRIX(LEDマk)夕)·16LSI DATA TABLE(LSI端子機能表)5SWITCH MATRIX(y于マk)夕又)·18ICBL0 CK DIAGRAM(ICブ口y夕☒)…6DISK INPUT/OUTPUT(子ヌ夕用/O)-…18DISASSEMBLY PROCEDURE(分解手)·8ERROR MESSAGES(工ラ-×y乜一)·18CIRCUIT BOARDS(之一卜基板☒)…10MIDI IMPLEMENTATION CHART ........-19DISK F0RMAT(デ1又夕7才-マy卜)…14OVERALL CIRCUIT DIAGRAM(怒回路☒)·20PARTS LISTYAMAHA CORP.EL001353Revised Edition3.0K-86C Printed in Japan '88.11
请登录后查看评论内容