

第1页 / 共44页

第2页 / 共44页

第3页 / 共44页

第4页 / 共44页

第5页 / 共44页

第6页 / 共44页

第7页 / 共44页

第8页 / 共44页

第9页 / 共44页

第10页 / 共44页
试读已结束,还剩34页,您可下载完整版后进行离线阅读
THE END
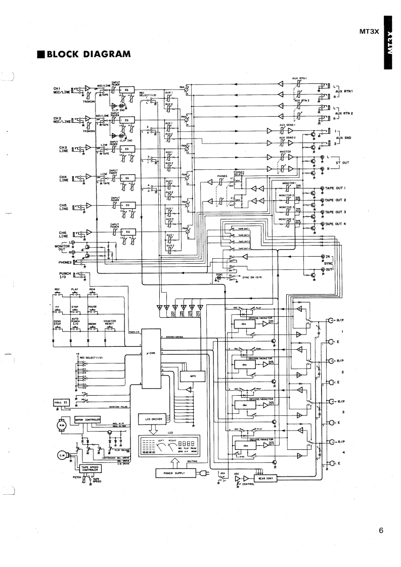
MULTITRACK CASSETTE RECORDERSERVICE MANUALYAMAHA■CONTENTSSPECIFICATIONS2PANEL LAYOUT…CIRCUIT BOARD LAYOUT…BLOCK DIAGRAM…6DISASSEMBLY PROCEDURE.ADJUSTMENTS…10CIRCUIT BOARDS14PARTS LISTYAMAHA CORP.LM oo69o1HAMAMATSU.JAPAN2.2K-992 Printed in Japan '89.3
请登录后查看评论内容