

第1页 / 共60页

第2页 / 共60页

第3页 / 共60页

第4页 / 共60页

第5页 / 共60页

第6页 / 共60页

第7页 / 共60页

第8页 / 共60页

第9页 / 共60页

第10页 / 共60页
试读已结束,还剩50页,您可下载完整版后进行离线阅读
THE END
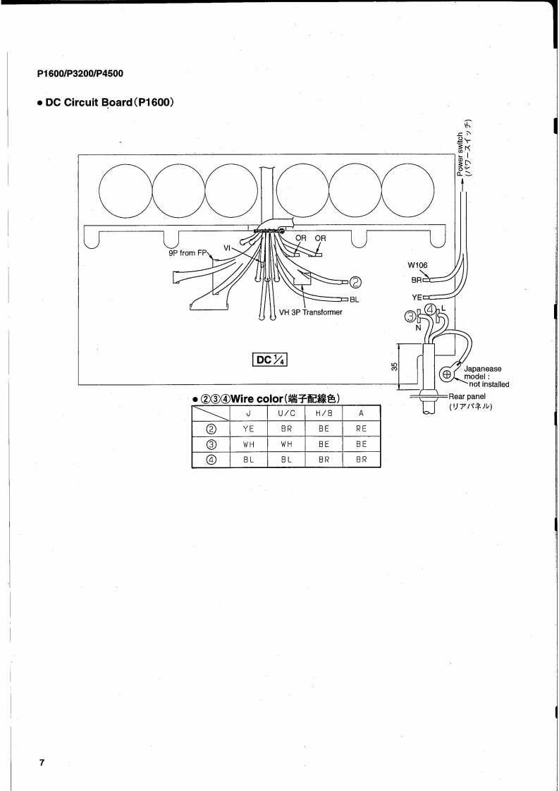
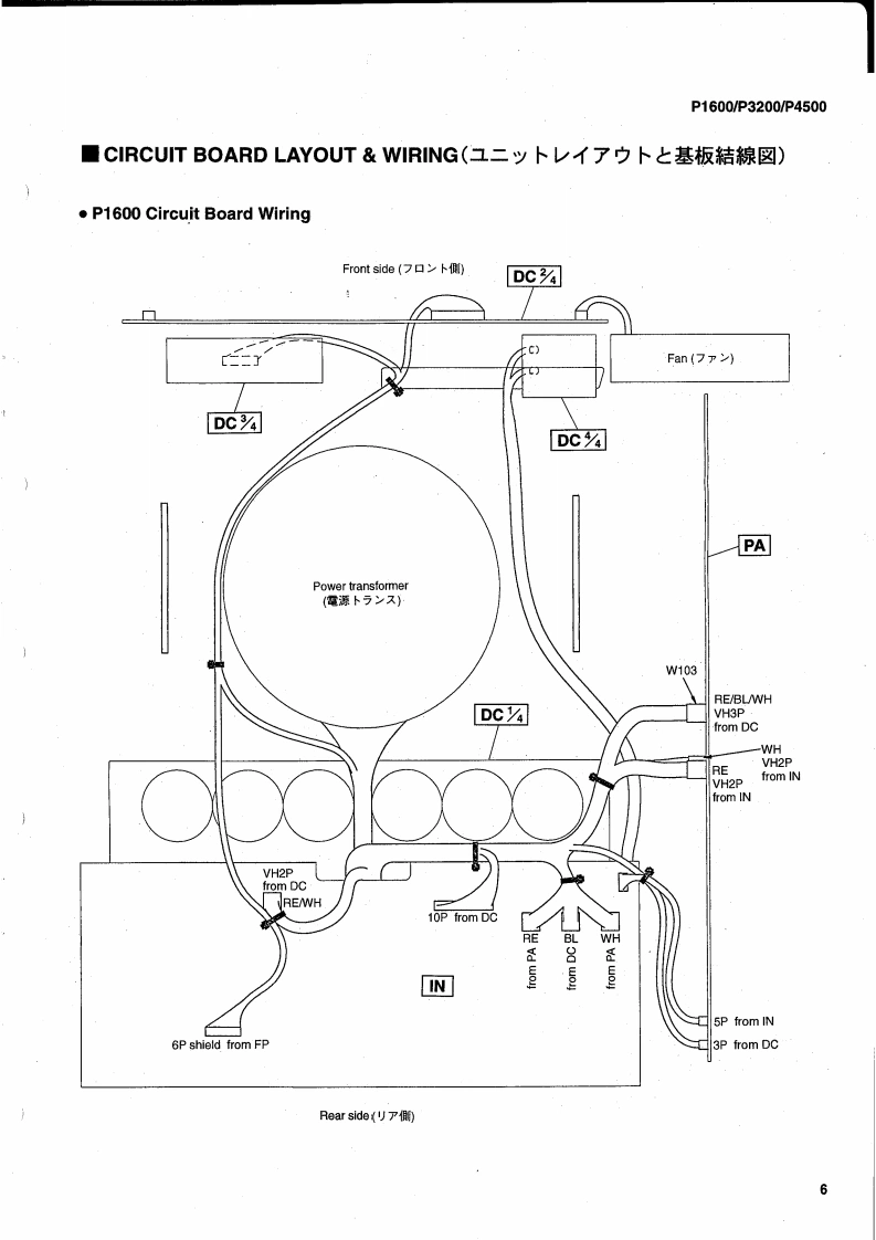
POWER AMPLIFIERD1600D3200/P4500SERVICE MANUALYAMAHAP4500■CONTENTS(目次)SPECIFICATIONS(総合仕樣)2/3PANEL LAYOUT(/パ礻儿L了夕卜).4DIMENSIONS(寸法☒).5BLOCK DIAGRAM(ブ口y夕岁了方ラA)CIRCUIT BOARD LAYOUT WIRING.5(工二ツ卜不了ヴ卜上基板結線☒).6DISASSEMBLY PROCEDURE(分解手順).10IC BLOCK DIAGRAM(ICブ口y夕☒)13POWER CONSUMPTION vs OUTPUT POWER GRAPH(消費電力对出力特性☒)…13CIRCUIT BOARD(之-卜基板☒).14/19INSPECTIONS(検查)20/23CAUTION FOR SPEAKER CONNECTION(又上一力一配線)26/27TROUBLESHO0TING(卜ラブ儿之1-テ1Y少).26/27PARTS LISTPA011374YAMAHA CORP.19971020P1600.95000HAMAMATSU.JAPANP3200-1450001.94K-455(D Printed in Japan '97.7P4500-165000
请登录后查看评论内容