

第1页 / 共28页

第2页 / 共28页

第3页 / 共28页

第4页 / 共28页

第5页 / 共28页

第6页 / 共28页

第7页 / 共28页

第8页 / 共28页

第9页 / 共28页

第10页 / 共28页
试读已结束,还剩18页,您可下载完整版后进行离线阅读
THE END
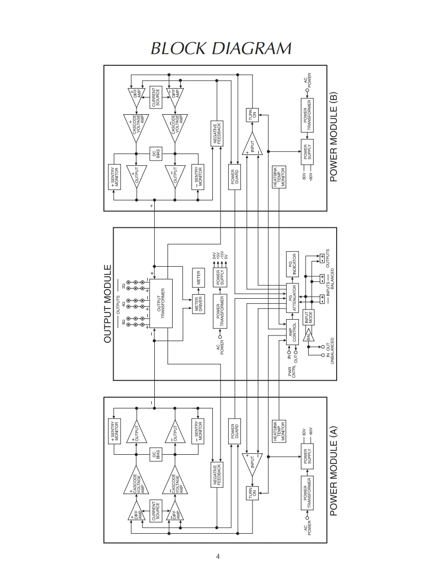
MC2KWPOWER AMPLIFIERSERIAL NO.POWER MODULE WJ-A001 And AbovePOWER MODULE WJ-B001 And AboveOUTPUT MODULE WJ-C001 And AbovePOWERMODULENERKW POWER MODULE80.0e0.220202002K0.aK0POWER OUTPUTOUTPUTMODULECONTENTSPerformanecifications .Logo Schematic and PCB.16Notes MC2K.Parts List.1719POWER MODULEOUTPUT MODULERear Panel.…………Rear Panel20Section LocationSection Location.20Block Diagram.05666.05.0.6.0.060.0..0.6.0.0.0.0............0Interconnection Diagram.21-22Interconnection Diagram5-6Main Schematic and PCB..............23-28Amp Schematic and PCB7-9Meter Power Supply Schematic and PCB...........29-32Heatsink Schematic and PCB….1011Meter Led Schematic and PCB33.34Heatsink Slave Schematic and PCB ...................12-13Parts List.35-37Capacitor Schematic and PCB14Repacking Instruction ................39Logo Schematic and PCB...15SERVICE MANUAL
请登录后查看评论内容