MCINTOSH-SCR2_service-manual维修手册

MCINTOSH-SCR2_service-manual维修手册-找手册网
MCINTOSH-SCR2_service-manual维修手册
此内容为付费资源,请付费后查看
1921
立即购买
您当前未登录!建议登陆后购买,可保存购买订单
付费资源

第1页 / 共7页

第2页 / 共7页

第3页 / 共7页

第4页 / 共7页

第5页 / 共7页

第6页 / 共7页

第7页 / 共7页
已完成全部阅读,共7
THE END
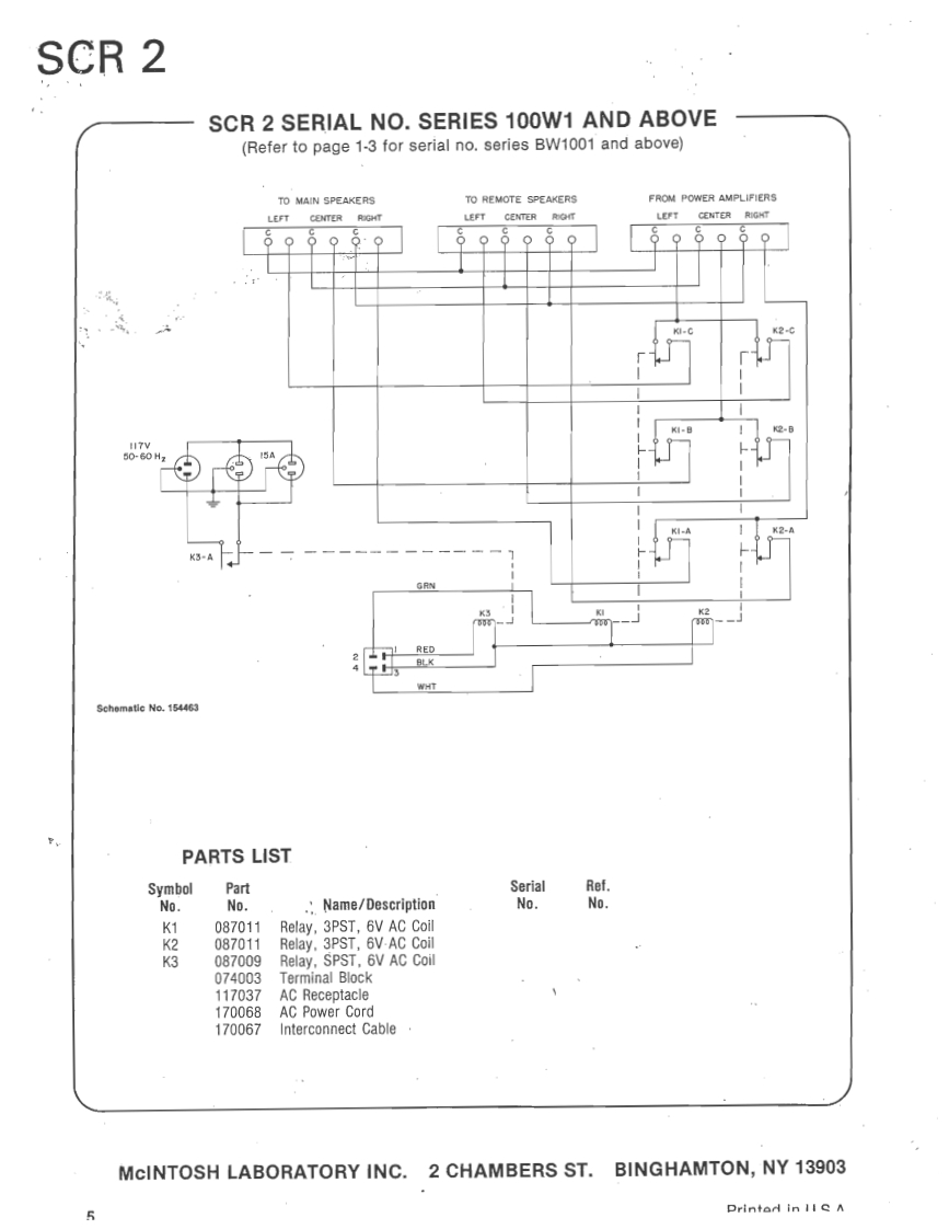
MAsTiRSCR 2SPEAKER CONTROL RELAY38用时Iiclntoshservice manual039314
喜欢就支持一下吧
评论 抢沙发

请登录后发表评论

    请登录后查看评论内容