

第1页 / 共41页

第2页 / 共41页

第3页 / 共41页

第4页 / 共41页

第5页 / 共41页

第6页 / 共41页

第7页 / 共41页

第8页 / 共41页

第9页 / 共41页

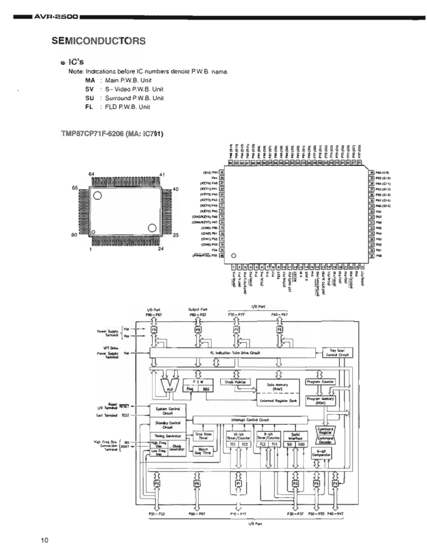
第10页 / 共41页
试读已结束,还剩31页,您可下载完整版后进行离线阅读
THE END
DENONHi-Fi AV Surround ReceiverSERVICE MANUALMODEL AVR-2500AV SURROUND RECEIVER2000The pholograph shows the AVR-2500 (block)(without side wood boards)CONTENTSSPECIFICATIONSWIRE ARRANGEMENT…,3DISASSEMBLY4,5ADJUSTMENT ............………68FUNCTION OF VIDEOCIRCUIT.................................................................9SEMICONDUCTOAS..................................................................10-19PRINTEDWIRING BOARD .............................................................20-23PRINTEO WIRING BOARD PARTSLIST..........................................................24-3]WIRING DIAGRAM。…BLOCKDIAGAAM .................................................................39SCHEMATIC D1 AGRAM-(1/a1,(12).(34.(4/4).........34-37EXPLODED VIEW OF CHASSIS AND CABINET....................................................8PARTS LIST OF EXPLODE0VEW.…39ADDENOUM PARTS LIST....40AEMOTE CONTROL UNIT(RC-180)...........................................................40,41PARTSLIST..............................................................................90SCHEMATIC DIAGRAM..................NIPPON COLUMBIA CO.,LTD.
请登录后查看评论内容