

第1页 / 共24页

第2页 / 共24页

第3页 / 共24页

第4页 / 共24页

第5页 / 共24页

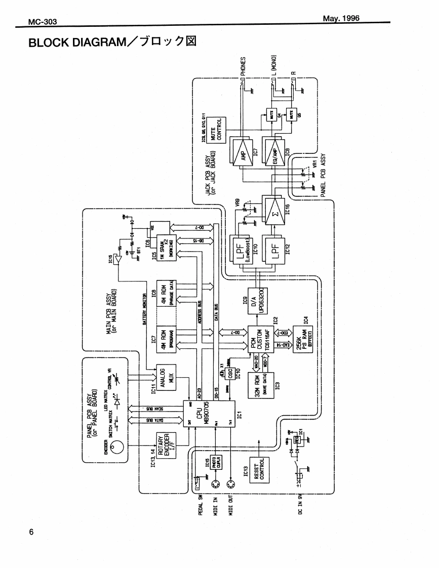
第6页 / 共24页

第7页 / 共24页

第8页 / 共24页

第9页 / 共24页

第10页 / 共24页
试读已结束,还剩14页,您可下载完整版后进行离线阅读
THE END
MC-303Ma.1996CB▣3SERVICE NOTESSPECIFICATIONS/仕横First Edition●TONE GENERATOR白OOVEbOXIssued by RJABULT-N CRFOCTS_●8 ECUENCERd”TABLE OF CONTENTS目次PageSPECFICATIONS仕保。…LOCATION OF CONTROLS1字儿配黑园EXPLOOED VIEW分解匠.-PATS山ST46BLOCK DWGRAMRESOUUTION.TEST MODE.-7-12GHC线+5司FACTORY PRESET7y夕卜以=:了七y卡444444444444413●CONNECTOR8Cp4oa山o4,ACHECK UP VERSION AND BATTERY VOLTAGE一■之上y于号一霸任动确师-13BULK DUMP9掌之7.14-15CICUIT BCARD OMAINCICUT DWGRAM IMAIN区HM祸17●DONTROL KNOBCRCUT BOARD (PANEL落想OPA因8FEALTME MODYOutof.Rlesoeancs.LFO (Modadon.RlseCICUIT DWGRAM IPANELY区海2PANELICIRCUT BOARD (CKI活福C020EFFECT.CRCUT DWGRAM HACKO区MC0.21气A解NTCHANGE NFORMATION●KEYBOAND PADW●08LAY之4wB40●OWER SUPPLYG4e买O●CURRENT DRAW的GA●0 MENSONS3hiWj:204 1Hm1441B■作101有3t】1hH市●WEIGHT83.8g/6be 10arc山gA0A9间●ACCE8S0FIE8SET DPIEngfuhdF台ELMoh南T5w●OP1oNsPedal 8wich DF.2.FB-5URoland17059947C内1@1w传CLAND CORPOPAT中wPrinted in Japan AFDO (DP-P)1
请登录后查看评论内容