Electrohome-Roamer50_38-rec-电气原理图手册

Electrohome-Roamer50_38-rec-电气原理图手册新质力文库 - 聚焦新质生产力发展的数字化知识库_行业洞察 / 理论成果 / 实践指南免费下载新质力文库
Electrohome-Roamer50_38-rec-电气原理图手册
此内容为付费资源,请付费后查看
2232
立即购买
您当前未登录!建议登陆后购买,可保存购买订单
付费资源

第1页 / 共2页
试读已结束,还剩1页,您可下载完整版后进行离线阅读
THE END
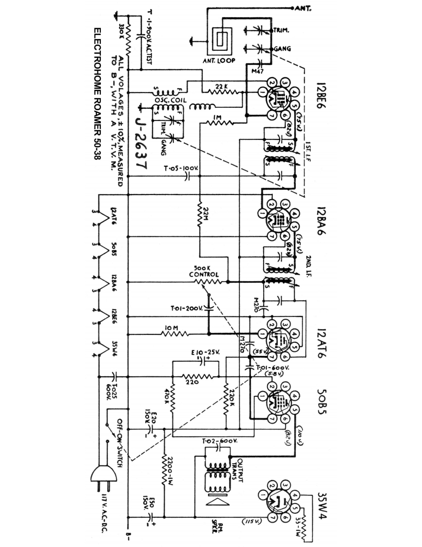
ANT.WT.1-9OOV AC.TESTANGELECTROHOME ROAMER 50-38ANT.LOOPwOSC.COIL-28E69V.T.V.M.U-2637T.o59e%12BA65ooKCONTROL2ND.LF.12BA6WTol-2ooV26ioME1o-2512AT6ol-6oov.822⊙22050B5OFF-ON SWITCHo.5TRANS17 V.A.C-D.C35W4
喜欢就支持一下吧
评论 抢沙发

请登录后发表评论

    请登录后查看评论内容